Запчасти Case 170C (8-136) - PARALLEL SUPPLY CONTROL VALVE, FOR ARM CIRCUIT (08) - HYDRAULICS

Схема запчастей Case 170C - (8-136) - PARALLEL SUPPLY CONTROL VALVE, FOR ARM CIRCUIT (08) - HYDRAULICS
FIT
1:1
100%

Артикул

Название

Примечание

Количество

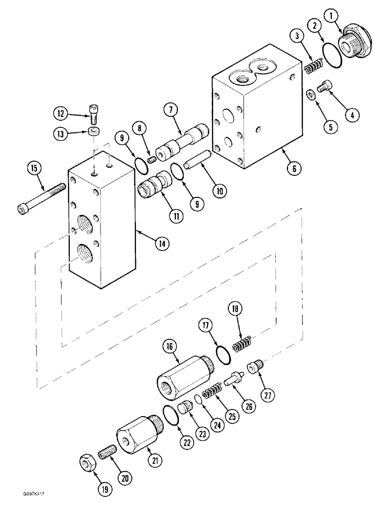
P3143306

BLOCK

VALVE ASSEMBLY - control, parallel supply, Includes: Ref. 1-26

1шт.

1

P737460

PLUG

- spool housing

1шт.

2

238-6123

O-RING,0.103" Thk x 1.174" ID, -123, Cl 6, 90 Duro

Plug (Replaces O-ring R30990) -123, 90 Duro, 1.174" ID x .103" Thk

1шт.

Part of seal repair kit P/N P4349632.

1шт.

3

P1838161

COMPRESSION SPRING

SPRING - secondary spool

1шт.

4

P932912

SCREW

PLUG - spool housing

3шт.

5

P1446072

WASHER

- sealing

3шт.

6

NSS

NOT SOLD SEPARAT

HOUSING - spool, order valve assembly P3143306

1шт.

7

NSS

NOT SOLD SEPARAT

SPOOL - secondary, order valve assembly P3143306

1шт.

8

NSS

NOT SOLD SEPARAT

PLUG - secondary spool orifice, order valve assembly P3143306

1шт.

9

238-6123

O-RING,0.103" Thk x 1.174" ID, -123, Cl 6, 90 Duro

Housing (Replaces O-ring R30990) -123, 90 Duro, 1.174" ID x .103" Thk

2шт.

Part of seal repair kit P/N P4349632.

1шт.

10

NSS

NOT SOLD SEPARAT

PISTON - primary spool, order valve assembly P3143306

1шт.

11

NSS

NOT SOLD SEPARAT

SPOOL - primary, order valve assembly P3143306

1шт.

12

P932912

SCREW

PLUG - valve housing

2шт.

13

P1446072

WASHER

- sealing

2шт.

14

NSS

NOT SOLD SEPARAT

HOUSING - valve, order valve assembly P3143306

1шт.

15

P332901

SCREW

BOLT - housing

6шт.

16

P1029762

CAP

HOUSING - spring

1шт.

17

P1145268

SEAL

O-RING - housing

1шт.

Part of seal repair kit P/N P4349632.

1шт.

18

P1838199

COMPRESSION SPRING

SPRING - primary spool

1шт.

19

P34563

NUT

- hex, self-locking, 10 mm

1шт.

20

P32832

SCREW

- set, adjusting

1шт.

21

P1029770

CAP

BODY - relief valve

1шт.

22

P1145268

SEAL

O-RING - body

1шт.

Part of seal repair kit P/N P4349632.

1шт.

23

P4727846

TAPPET

SEAT - spring

1шт.

24

P630413

O-RING

- seat

1шт.

Part of seal repair kit P/N P4349632.

1шт.

25

P1638118

COMPRESSION SPRING

SPRING - relief valve

1шт.

P4137788

SEAT

PLUNGER ASSEMBLY - relief valve, Includes: Ref. 26, 27

1шт.

26

NSS

NOT SOLD SEPARAT

PLUNGER - relief valve, order plunger assembly P4137788

1шт.

27

NSS

NOT SOLD SEPARAT

SEAT - plunger, order plunger assembly P4137788

1шт.

P4349632

SEAL PACKAGE

KIT - seal repair, Includes: Ref. 2, 9, 17, 22 and 24

1шт.

Выбрано товаров: 0