Запчасти Case 170C (3-2) - FUEL TANK (03) - FUEL SYSTEM

Схема запчастей Case 170C - (3-2) - FUEL TANK (03) - FUEL SYSTEM
FIT
1:1
100%

Артикул

Название

Примечание

Количество

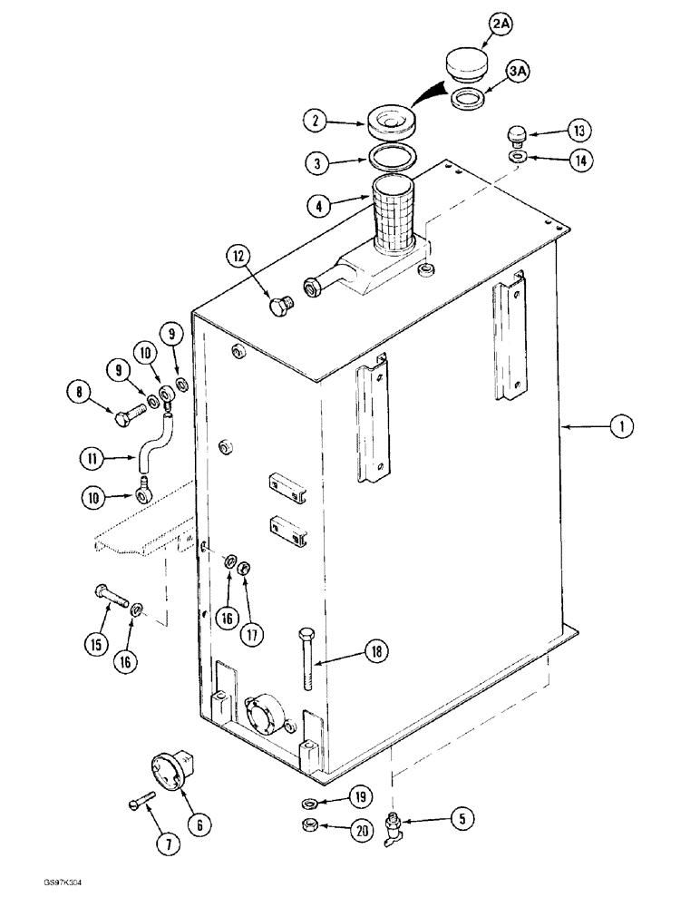
P1540251

FUEL TANK

TANK ASSEMBLY - fuel, excavator, Includes: Ref. 1-20

1шт.

1

NSS

NOT SOLD SEPARAT

TANK - fuel, order tank assembly P1540251

1шт.

P3237496

FILLER CAP

CAP ASSEMBLY - fuel tank, no longer availavble, order cap assembly P3337451, Includes: Ref. 2-3

1шт.

P3337451

FILLER CAP

CAP ASSEMBLY - fuel tank, Includes: Ref. 2-3

1шт.

2

NSS

NOT SOLD SEPARAT

CAP - fuel tank, order cap assembly P3237496

1шт.

2a

NSS

NOT SOLD SEPARAT

CAP - fuel tank, order cap assembly P3337451

1шт.

NSS

NOT SOLD SEPARAT

CYLINDER ASSEMBLY - lock, order cap assembly P3337451, Includes: Key P1352009

1шт.

P1352009

KEY

- lock

1шт.

3

P46096

WASHER, SEALING

GASKET - fuel cap

1шт.

3a

P8846020

SEAL

GASKET - fuel cap

1шт.

4

P50537

FILTER BOWL

STRAINER - fuel

1шт.

5

P837827

COCK

VALVE - tank drain

2шт.

6

P2141665

GAUGE

SENDER - low fuel warning lamp

1шт.

7

P232901

SCREW

- slotted head, 4 mm x 10 mm, sending unit mounting

6шт.

8

P730090

BANJO BOLT

BOLT - fuel tank connector

2шт.

9

P5346094

SEAL

GASKET - connector bolt

4шт.

10

P1337053

FITTING

CONNECTOR - tank, fuel sight gauge

2шт.

11

REF

INSTRUCTION

HOSE - fuel sight gauge, 300 mm (11-13/16 inch) long, cut from bulk hose P3683 below

1шт.

12

P37497

PLUG

- tank side

1шт.

13

P50586

BREATHER

- fuel tank

1шт.

14

P45239

WASHER, SEALING

SEAL - tank breather

1шт.

15

814-14090

BOLT,Hex, M14 x 2 x 90mm, Cl 8.8

(Replaces bolt P533850) Hex, M14 x 90, 8.8

2шт.

16

P4528715

WASHER

SPACER - bolt, 28 mm thick

4шт.

17

P134549

SAFETY NUT

NUT - hex, self-locking, 14 mm

2шт.

18

P33897

SCREW

BOLT - hex, 14 mm x 100 mm

4шт.

19

P3528792

WASHER

SPACER - bolt, 10 mm thick

4шт.

20

P134549

SAFETY NUT

NUT - hex, self-locking, 14 mm

4шт.

P3683

TUBE

HOSE - bulk, sold by the meter

1шт.

Выбрано товаров: 28