Запчасти Case 170C (9-042) - BOOM AND RELATED PARTS, P.I.N. 74501 THROUGH 74628 (09) - CHASSIS

Схема запчастей Case 170C - (9-042) - BOOM AND RELATED PARTS, P.I.N. 74501 THROUGH 74628 (09) - CHASSIS
FIT
1:1
100%

Артикул

Название

Примечание

Количество

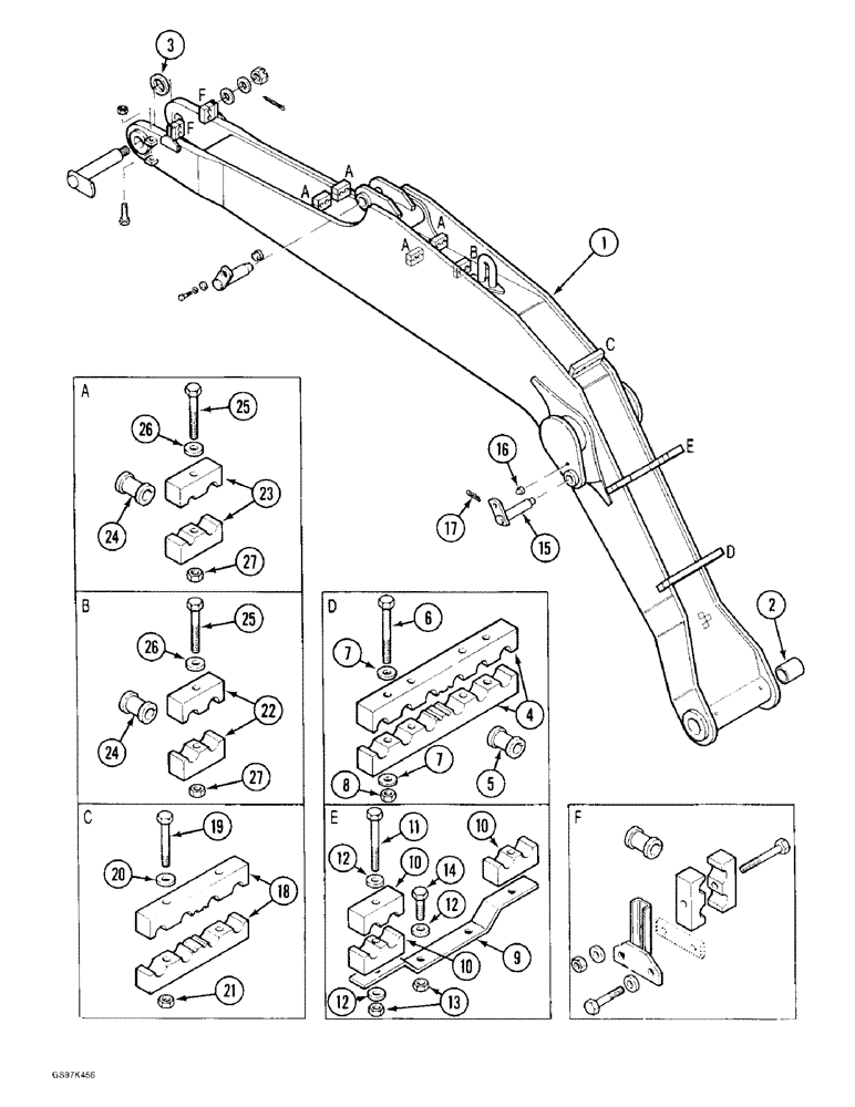
1

P6754838

BOOM

- excavator, 6.5 meter (256 inch)

1шт.

1

P6754841

BOOM

- excavator, 5.7 meter (224-13/32 inch)

1шт.

2

P1528633

BUSHING

- bronze, boom pivot, at boom to turntable, if used

2шт.

2

P4628761

BUSHING

- steel, boom pivot, at boom to turntable, if used

2шт.

3

P745319

WASHER

SHIM - at boom to arm, 2 mm (0.08 inch) thick

1шт.

4

P920314

SHIN

CLAMP - tube

2шт.

5

P741437

BUSHING

INSULATOR - tube

6шт.

6

814-16120

BOLT,Hex, M16 x 2 x 120mm, Cl 8.8

- hex, 16 - 2.0 x 120 mm (Replaces bolt P33856)

4шт.

7

P4328746

WASHER

SPACER - bolt, 11 mm thick

8шт.

8

829-1416

NUT,M16, Cl 10

- hex, 16 mm - 2.0, class 10 (Replaces nut P34169)

4шт.

9

P926459

SUPPORT

BRACKET - tube clamp mounting

1шт.

10

P820396

SHIN

CLAMP - tube

4шт.

11

814-16120

BOLT,Hex, M16 x 2 x 120mm, Cl 8.8

- hex, 16 - 2.0 x 120 mm (Replaces bolt P33856)

2шт.

12

P4328746

WASHER

SPACER - bolt, 11 mm thick

6шт.

13

829-1416

NUT,M16, Cl 10

- hex, 16 mm - 2.0, class 10 (Replaces nut P34169)

4шт.

14

814-16055

BOLT,Hex, M16 x 2 x 55mm, Cl 8.8

replaces bolt P33803 Hex, M16 x 55, 8.8, Full Thd

2шт.

15

P2430966

PIVOT PIN

PIN - pivot, boom cylinder base end mounting

2шт.

16

P50059

SHAFT LOCK

PIN - lock, boom cylinder pivot pin, Serial Range: welded-boom

2шт.

17

P36020

SPLIT PIN/SAFETY PIN

PIN - hair, split, lock pin

2шт.

18

P820342

SHIN

CLAMP - tube

2шт.

19

814-16120

BOLT,Hex, M16 x 2 x 120mm, Cl 8.8

- hex, 16 - 2.0 x 120 mm (Replaces bolt P33856)

2шт.

20

P4328746

WASHER

SPACER - bolt, 11 mm thick

2шт.

21

829-1416

NUT,M16, Cl 10

- hex, 16 mm - 2.0, class 10 (Replaces nut P34169)

2шт.

22

P3220358

SHIN

CLAMP - tube

2шт.

23

P820338

SHIN

CLAMP - tube

8шт.

24

P741437

BUSHING

INSULATOR - tube clamp

6шт.

25

814-16120

BOLT,Hex, M16 x 2 x 120mm, Cl 8.8

- hex, 16 - 2.0 x 120 mm (Replaces bolt P33856)

5шт.

26

P4328746

WASHER

SPACER - bolt, 11 mm thick

5шт.

27

829-1416

NUT,M16, Cl 10

- hex, 16 mm - 2.0, class 10 (Replaces nut P34169)

5шт.

Выбрано товаров: 29