Запчасти Case 170C (9-050) - BOOM LUBRICATION LINES (09) - CHASSIS

Схема запчастей Case 170C - (9-050) - BOOM LUBRICATION LINES (09) - CHASSIS
FIT
1:1
100%

Артикул

Название

Примечание

Количество

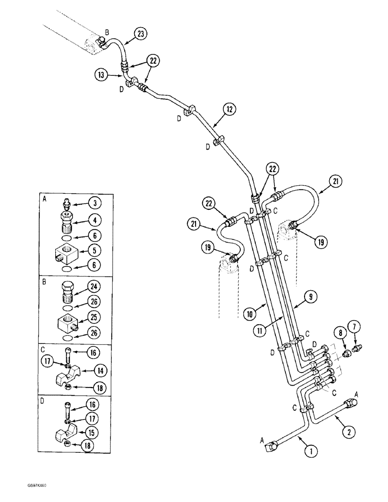
1

P7649124

PIPE

TUBE - lubrication, boom to turntable pin, left-hand side (Replaces tube P6849138)

1шт.

2

P7649125

PIPE

TUBE - lubrication, boom to turntable pin, right-hand side (Replaces tube P6849139)

1шт.

P5137743

FITTING

ADAPTER ASSEMBLY - lubrication tube, Includes: Ref. 3-6

2шт.

3

J45801

LUBE NIPPLE,M8 x 1.25

lubrication M8 x 1.25

1шт.

4

NSS

NOT SOLD SEPARAT

ADAPTER - lubrication tube, order adapter assembly P5137743

1шт.

5

NSS

NOT SOLD SEPARAT

BLOCK - adapter, order adapter assembly P5137743

1шт.

6

P30401

O-RING,2.5mm Thk x 18.5mm ID

- adapter and block

2шт.

7

J45801

LUBE NIPPLE,M8 x 1.25

lubrication M8 x 1.25

5шт.

8

P4037594

END FITTING

ADAPTER - grease fitting

5шт.

9

P7649127

PIPE

TUBE - lubrication, base end of right-hand boom cylinder (Replaces tube P6849137)

1шт.

10

P7649126

PIPE

TUBE - lubrication, base end of left-hand boom cylinder (Replaces tube P6849140)

1шт.

11

P9047645

PIPE

TUBE - lubrication, base end of arm cylinder, lower section (Replaces tube P8347682)

1шт.

12

P6849141

PIPE

TUBE - lubrication, base end of arm cylinder, center section

1шт.

13

P7147148

PIPE

TUBE - lubrication, base end of arm cylinder, upper section

1шт.

14

P404292

SHIN

CLAMP - double tube

6шт.

15

P404291

SHIN

CLAMP - single tube

7шт.

16

P1232971

SCREW

BOLT - hex socket, 12 mm x 30 mm, class 10.9

13шт.

17

P34713

WASHER

- lock

13шт.

18

829-1412

NUT,M12, Cl 10.9

- hex, 12 mm - 1.75, class 10

13шт.

19

P4037573

UNION

ADAPTER - hose to boom cylinder

2шт.

P945295

SEAL

O-RING - hose adapter

1шт.

21

P6631956

HOSE

- lubrication, base end of boom cylinder, 800 mm (31-1/2 inch) long

2шт.

22

P3237535

UNION

ADAPTER - straight, lubrication hose and tube

5шт.

23

P6631919

HOSE

- lubrication, base end of arm cylinder, 630 mm (24-13/16 inch) long

1шт.

P5137744

FITTING

ADAPTER ASSEMBLY - lubrication hose

1шт.

24

NSS

NOT SOLD SEPARAT

ADAPTER - lubrication hose, order adapter assembly P5137744

1шт.

25

NSS

NOT SOLD SEPARAT

BLOCK - adapter, order adapter assembly P5137744

1шт.

26

P30401

O-RING,2.5mm Thk x 18.5mm ID

- adapter and block

2шт.

Выбрано товаров: 28