Запчасти Case 170C (9-102) - CAB WINDSHIELD, P.I.N. 02321 AND AFTER (09) - CHASSIS

Схема запчастей Case 170C - (9-102) - CAB WINDSHIELD, P.I.N. 02321 AND AFTER (09) - CHASSIS
FIT
1:1
100%

Артикул

Название

Примечание

Количество

REF

INSTRUCTION

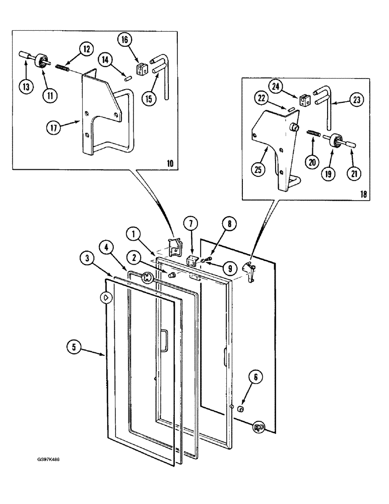
CAB ASSEMBLY - excavator, continued from pages 9-83 and 9-85, Includes: P1347086 and Ref. 1-26

1шт.

P1347086

WINDSHIELD

ASSEMBLY - cab, Includes: Ref. 1-26

1шт.

1

NSS

NOT SOLD SEPARAT

FRAME - windshield, order windshield assemby P1347086

1шт.

2

P234587

NUT

RETAINER - bolt, clip type

2шт.

3

P1347088

GLASS

- windshield

1шт.

4

P8046008

SEAL

RETAINER -, Serial Range: glass-frame

1шт.

5

REF

INSTRUCTION

SEAL - windshield glass, 4604 mm (181-1/4 inch) long, cut from bulk seal P346008 below

1шт.

6

203066C91

BALL BEARING

BEARING - ball, windshield track, at frame (Replaces bearing P139633)

2шт.

7

P3226175

SUPPORT

BRACKET - wiper terminal switch, see page 4-25 for switches and wiring (Replaces bracket P2826130)

1шт.

8

120104

BOLT,Hex, M8 x 1.25 x 20mm, Cl 8.8

BOLT, Hex, M8 x 20, 8.8, Bracket to frame

2шт.

9

P745438

WASHER

- flat, 8 mm

2шт.

10

P1352037

LATCH ASSY.

HANDLE ASSEMBLY - windshield release, right-hand, Includes: Ref. 11-17

1шт.

11

NSS

NOT SOLD SEPARAT

BEARING - ball, windshield track, at release bracket, order handle assembly P1352037

1шт.

12

NSS

NOT SOLD SEPARAT

SPRING - plunger return, order handle assembly P1352037

1шт.

13

NSS

NOT SOLD SEPARAT

PLUNGER - windshield release, order handle assembly P1352037

1шт.

14

NSS

NOT SOLD SEPARAT

PIN - roll, lever to plunger, order handle assembly P1352037

1шт.

15

NSS

NOT SOLD SEPARAT

HANDLE - windshield release, right-hand, order handle assembly P1352037

1шт.

16

NSS

NOT SOLD SEPARAT

LEVER - lock plunger, order handle assembly P1352037

1шт.

17

NSS

NOT SOLD SEPARAT

BRACKET - windshield release right-hand, order handle assembly P1352037

1шт.

18

P1352038

LATCH ASSY.

HANDLE ASSEMBLY - windshield release, left-hand, Includes: Ref. 19-25

1шт.

19

NSS

NOT SOLD SEPARAT

BEARING - ball, windshield track, at release bracket, order handle assembly P1352038

1шт.

20

NSS

NOT SOLD SEPARAT

SPRING - plunger return, order handle assembly P1352038

1шт.

21

NSS

NOT SOLD SEPARAT

PLUNGER - windshield release, order handle assembly P1352038

1шт.

22

NSS

NOT SOLD SEPARAT

PIN - roll, lever to plunger, order handle assembly P1352038

1шт.

23

NSS

NOT SOLD SEPARAT

HANDLE - windshield release, left-hand, order handle assembly P1352038

1шт.

24

NSS

NOT SOLD SEPARAT

LEVER - lock plunger, order handle assembly P1352038

1шт.

25

NSS

NOT SOLD SEPARAT

BRACKET - windshield release, left-hand, order handle assembly P1352038

1шт.

26

REF

INSTRUCTION

SEAL - windshield to cab, 1800 mm (70-7/8 inch) long, cut from bulk seal P1303155 below, not shown

1шт.

P346008

SEAL

- bulk, sold by the meter

1шт.

P1303155

PROFILE

SEAL - bulk, sold by the meter

1шт.

Выбрано товаров: 30