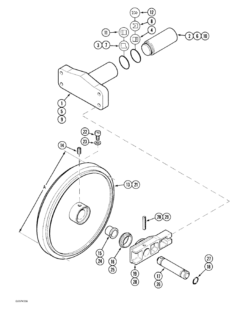
Запчасти Case 170C (5-10) - TRACK IDLER AND ADJUSTMENT CYLINDER, WITH 680 MM (26-3/4") IDLER WHEEL DIMENSION, PIN 74501 - 74569 (11) - TRACKS/STEERING

Схема запчастей Case 170C - (5-10) - TRACK IDLER AND ADJUSTMENT CYLINDER, WITH 680 MM (26-3/4") IDLER WHEEL DIMENSION, PIN 74501 - 74569 (11) - TRACKS/STEERING
FIT
1:1
100%

Артикул

Название

Примечание

Количество

P6546272

TIGHTENER

CYLINDER ASSEMBLY - track adjustment, ITM identification, Includes: Ref. 1-4

2шт.

1

NSS

NOT SOLD SEPARAT

BRACKET AND CYLINDER - track adjustment, order cylinder assembly P6546272

1шт.

2

P5327889

PISTON

- adjustment cylinder

1шт.

3

P151232

WIPER SEAL

SEAL - piston, inner

1шт.

4

P8046039

SEAL

- piston, outer; 75 x 100 x 11 mm

1шт.

P6546272

TIGHTENER

CYLINDER ASSEMBLY - track adjustment, Intertrac identification, Includes: Ref. 5-8

2шт.

5

NSS

NOT SOLD SEPARAT

BRACKET AND CYLINDER - track adjustment, order cylinder assembly P6546272

1шт.

6

P5327890

PISTON

- adjustment cylinder

1шт.

7

P151233

WIPER SEAL

SEAL - piston, inner

1шт.

8

P8046040

SEAL

- piston, outer; 75 x 100 x 24 mm

1шт.

P6546272

TIGHTENER

CYLINDER ASSEMBLY - track adjustment, Poclain identification, Includes: Ref. 9-12

2шт.

9

NSS

NOT SOLD SEPARAT

BRACKET AND CYLINDER - track adjustment, order cylinder assembly P6546272

1шт.

10

P8349476

STEM

PISTON - adjustment cylinder

1шт.

11

P246072

SPECIAL MAT. SEAL

SEAL - piston, inner

1шт.

12

P1251303

SCRAPER

SEAL - piston, outer

1шт.

P1642334

FLEETING PULLEY

IDLER ASSEMBLY - track, Intertrac identification, no longer available, order idler assembly P1942385, parts list Figure 5-12, Includes: Ref. 13-20

2шт.

13

NSS

NOT SOLD SEPARAT

WHEEL - idler, “A” dimension is 680 mm (26-3/4 inch), order idler assembly P1642334

1шт.

14

P2537437

PLUG

- filler, idler wheel

1шт.

15

P4746282

BEARING LINER

BUSHING - idler wheel

2шт.

16

P9346015

SET OF GASKET

SEAL - oil, idler wheel (Replaces seal P8046006)

2шт.

17

P5327878

SHAFT

- idler

1шт.

18

P6146098

SEAL

O-RING - idler shaft

2шт.

19

P5628223

SUPPORT

BRACKET - idler wheel

2шт.

20

P35710

SPLIT PIN/SAFETY PIN

PIN - roll, idler, Serial Range: shaft-bracket

2шт.

P1642334

FLEETING PULLEY

IDLER ASSEMBLY - track, ITM identification, no longer available, order idler assembly P1942385, parts list Figure 5-12, Includes: Ref. 21-29

2шт.

21

NSS

NOT SOLD SEPARAT

WHEEL - idler, “A” dimension is 680 mm (26-3/4 inch), order idler assembly P1642334

1шт.

22

P737448

PLUG

- filler, idler wheel

1шт.

23

P2230408

O-RING

- filler plug

1шт.

24

P1128687

BEARING LINER

BUSHING - idler wheel (Replaces bushing P1528682)

2шт.

25

P7546097

SET OF GASKET

SEAL - idler wheel

2шт.

26

P5327877

SHAFT

- idler

1шт.

27

P1230438

O-RING,0.139" Thk x 2.734" ID, -232, Cl 6, 90 Duro

- idler shaft

2шт.

28

P5628222

SUPPORT

BRACKET - idler wheel

2шт.

29

P35801

SPLIT PIN/SAFETY PIN

PIN - roll, idler, Serial Range: shaft-bracket

2шт.

Выбрано товаров: 34