Запчасти Case 170C (4-38) - ELECTRICAL BOX SYSTEM, HARNESS CONNECTIONS TO ELECTRICAL (04) - ELECTRICAL SYSTEMS

Схема запчастей Case 170C - (4-38) - ELECTRICAL BOX SYSTEM, HARNESS CONNECTIONS TO ELECTRICAL (04) - ELECTRICAL SYSTEMS
FIT
1:1
100%

Артикул

Название

Примечание

Количество

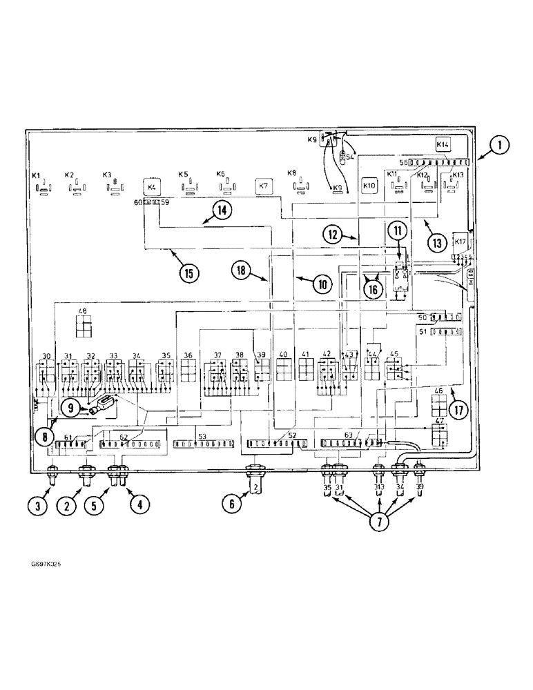
1

REF

INSTRUCTION

BOX - electrical, see Figures 4-44 through 4-52 for electrical box and related parts

1шт.

2

REF

INSTRUCTION

HARNESS - instrument panel, see Figure 4-14 or 4-16

1шт.

3

REF

INSTRUCTION

HARNESS - electrical box to senders, see Figure 4-32 or 4-34

1шт.

4

REF

INSTRUCTION

HARNESS - at turntable, left hand-side see Figure 4-32 or 4-34

1шт.

5

REF

INSTRUCTION

HARNESS - cab wiring, see Figure 4-18 or 4-20

1шт.

6

P9547264

HARNESS

- engine, see Figure 4-4

1шт.

7

REF

INSTRUCTION

HARNESSES - at turntable, see Figure 4-32 or 4-34

1шт.

8

P8647280

ELECTRICAL WIRE

WIRE - connector, cab harness

1шт.

9

3178377R1

CONNECTION

CONNECTOR - electrical, two wire (Replaces P640964)

1шт.

10

P8647281

ELECTRICAL WIRE

WIRE - connector, electrical box, 600 mm (23-5/8 inch) long

1шт.

11

P9547226

ELECTRICAL WIRE

WIRE - connector, electrical box, 100 mm (3-15/16 inch) long

1шт.

12

P9247220

ELECTRICAL WIRE

WIRE - connector, electrical box, 500 mm (19-5/8) long

1шт.

13

P9247221

ELECTRICAL WIRE

WIRE - connector, electrical box, 350 mm (13-3/4 inch) long

1шт.

14

P9547220

ELECTRICAL WIRE

WIRE - connector, electrical box, 550 mm (21-5/8 inch) long

1шт.

15

P9547225

ELECTRICAL WIRE

WIRE - connector, electrical box, 500 mm (19-5/8 inch) long

1шт.

16

REF

INSTRUCTION

WIRE - connector, electrical box, 300 mm (11-7/8 inch) long, cut from bulk stock P31253 below

2шт.

17

P9547269

ELECTRICAL WIRE

WIRE - ground, electrical box

1шт.

18

P9547270

ELECTRICAL WIRE

WIRE - connector, electrical box

1шт.

P31253

ELECTRICAL WIRE

WIRE - bulk, sold by the meter

1шт.

Выбрано товаров: 19