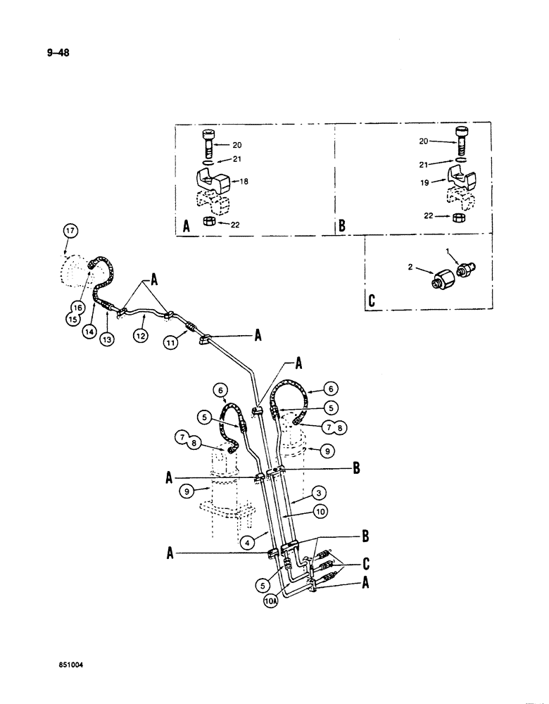
Запчасти Case 125B (9-048) - BOOM LUBRICATION LINES, P.I.N. 74251 THROUGH 74844 (09) - CHASSIS

Схема запчастей Case 125B - (9-048) - BOOM LUBRICATION LINES, P.I.N. 74251 THROUGH 74844 (09) - CHASSIS
FIT
1:1
100%

Артикул

Название

Примечание

Количество

1

J45801

LUBE NIPPLE,M8 x 1.25

- lubrication M8 x 1.25

3шт.

2

P3237596

END FITTING

ADAPTER - straight, grease, Serial Range: fitting-tube

3шт.

3

P6049038

PIPE

TUBE - lubrication, to right-hand boom cylinder

1шт.

4

P6049039

PIPE

TUBE - lubrication, to left-hand boom cylinder

1шт.

5

P377553

ADAPTER - straight

3шт.

6

P31939

HOSE

- 24-3/4" (630 mm) long, lubrication tube to base end of boom cylinder

2шт.

7

P3037546

UNION

ADAPTER - straight, Serial Range: hose-cylinder

2шт.

8

L33215

O-RING,0.737" ID x 0.943" OD x 0.103"

- adapter

2шт.

9

REF

INSTRUCTION

CYLINDER ASSEMBLY - boom, for correct assembly and components see Figures 8-286 through 8-292

2шт.

10

P8047662

PIPE

TUBE - lubrication, to arm cylinder, center section

1шт.

10a

P4047145

PIPE

TUBE - lubricaiton, to arm cylinder, lower section

1шт.

11

P37554

UNION

ADAPTER - straight, lubrication tube

1шт.

12

P6149173

PIPE

TUBE - lubrication, to arm cylinder, upper section

1шт.

13

P37553

UNION

ADAPTER - straight, Serial Range: tube-hose

1шт.

14

P3731994

HOSE

- lubrication tube to base end of arm cylinder

1шт.

15

P3037546

UNION

ADAPTER - straight, Serial Range: hose-cylinder

1шт.

16

L33215

O-RING,0.737" ID x 0.943" OD x 0.103"

- adapter

1шт.

17

REF

INSTRUCTION

CYLINDER ASSEMBLY - arm, for correct assembly and components see Figures 8-294 through 8-302

1шт.

18

P404291

SHIN

CLAMP - tube, for single tube

7шт.

19

P404292

SHIN

CLAMP - tube, for double tubes

3шт.

20

P1232971

SCREW

BOLT -, Serial Range: clamp-block

10шт.

21

P34713

WASHER

- lock

10шт.

22

829-1412

NUT,M12, Cl 10.9

Clamp bolt M12, Cl 10

10шт.

Выбрано товаров: 23