Запчасти Case 125B (9-052) - REHANDLING BOOM AND RELATED PARTS, IF USED (09) - CHASSIS

Схема запчастей Case 125B - (9-052) - REHANDLING BOOM AND RELATED PARTS, IF USED (09) - CHASSIS
FIT
1:1
100%

Артикул

Название

Примечание

Количество

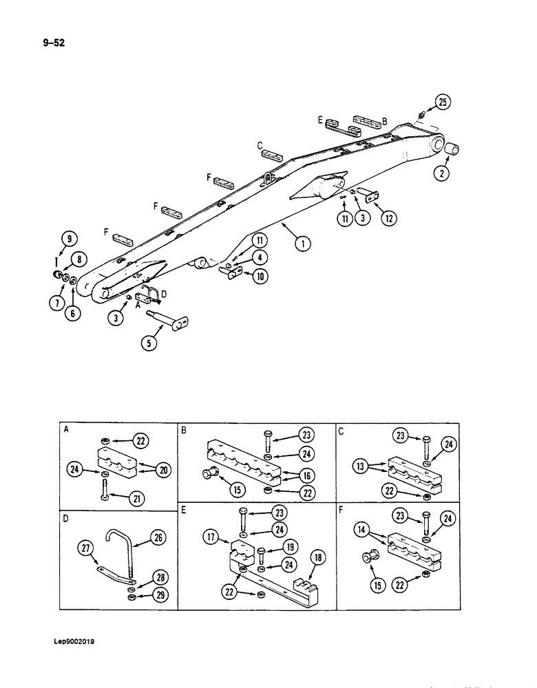
1

P1854636

BOOM - excavator, Includes: Ref. 2 - 4

1шт.

2

P1528633

BUSHING

- boom pivot, at, Serial Range: boom-turntable

2шт.

3

P50059

SHAFT LOCK

PIN - lock, boom cylinder pivot pin, Serial Range: welded-boom

3шт.

4

P50053

SHAFT LOCK

PIN - lock, arm cylinder pivot pin, Serial Range: welded-boom

1шт.

5

P2930976

HANDLED SHAFT

PIN - pivot, Serial Range: arm-boom

1шт.

6

P1145578

WASHER

- pivot pin

1шт.

7

P545577

WASHER

- pivot pin

1шт.

8

P34336

NUT

- pivot pin

1шт.

9

P35564

SPLIT PIN/SAFETY PIN

COTTER PIN - pivot pin

1шт.

10

P2430960

HEADED PIN

PIN - pivot, arm cylinder closed end mounting

1шт.

11

P36020

SPLIT PIN/SAFETY PIN

HAIR PIN - split, lock pin

3шт.

12

P2430957

HEADED PIN

PIN - boom cylinder base end of cylinder

2шт.

13

P1820382

SHIN

CLAMP - tube

2шт.

14

P1820383

SHIN

CLAMP - tube

6шт.

15

P741437

BUSHING

INSULATOR - tube

18шт.

16

P1820384

SHIN

CLAMP - tube

2шт.

17

P1820381

SHIN

CLAMP - tube

2шт.

18

P2528205

SUPPORT

PLATE - mounting, tube clamp

1шт.

19

P33887

SCREW

BOLT - hex, 12 mm x 45 mm

2шт.

20

P4420314

SHIN

CLAMP - tube

2шт.

21

P33844

SCREW

BOLT - hex, 12 mm x 90 mm

2шт.

22

337475

NUT,M12, Cl 10

- M12, Cl 10

18шт.

23

P133887

SCREW

BOLT - tube clamp mounting bracket, 12 mm x 110 mm

14шт.

24

P4328797

WASHER

SPACER - bolt, 8 mm thick

22шт.

25

J45801

LUBE NIPPLE,M8 x 1.25

- lubrication M8 x 1.25

2шт.

26

P1830770

BRACKET - arm cylinder

2шт.

27

P2526716

PLATE - arm cylinder

1шт.

28

P4328746

WASHER

SPACER - bracket bolt, 11 mm thick

2шт.

29

P34562

SAFETY NUT

NUT - bracket bolt, 12 mm

2шт.

Выбрано товаров: 29