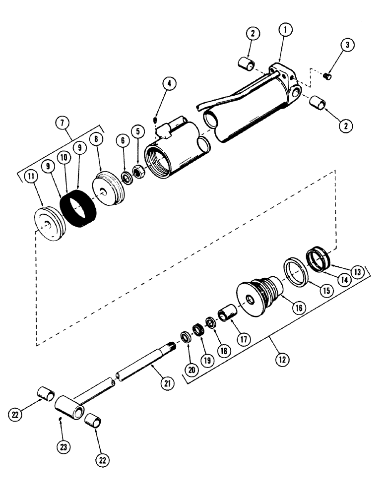
Запчасти Case 50 (8-222) - WRIST-O-TWIST CYLINDER, (5.50" ID X 8.20" STROKE) (08) - HYDRAULICS

Схема запчастей Case 50 - (8-222) - WRIST-O-TWIST CYLINDER, (5.50" ID X 8.20" STROKE) (08) - HYDRAULICS
FIT
1:1
100%

Артикул

Название

Примечание

Количество

S614056

CYLINDER

- wrist-o-twist, Includes: Ref. 1 - 23

1шт.

1

S513881

TUBE - cylinder, Includes: Ref. 2 16.18" L

1шт.

2

S202137

BUSHING,50.73mm ID x 63.63mm OD x 63.5mm L

- tube

2шт.

3

273916

PLUG,Hex, 1-5/16" - 12 ORB

Pipe Hex Hd, 1 5/16"-12 ORB

1шт.

4

187-1031

SELF-TAP SCREW,Pan, 0.164"-32 x 1/4"

SCREW - no. 8-32 x 1/4" NC self tapping

1шт.

5

28-2456

BOLT,Hex, 1-1/2" - 12 x 3-1/2", Gr 8

NUT

1шт.

6

G32666

WASHER

1шт.

7

G35283

PISTON and SEAL ASSEMBLY, Includes: Ref. 8 - 11

1шт.

8

D49165

PISTON

- split (Both)

1шт.

Part of Seal Kit, P/N G105514

1шт.

9

D47207

GASKET KIT

V-RING PACKING

2шт.

Part of Seal Kit, P/N G105514

1шт.

10

D47212

BEARING WASHER,4.256" ID x 5.491" OD x 0.748"

RING - center bearing

1шт.

11

D49164

PISTON

- split (rod)

1шт.

12

G104349

GLAND

ASSEMBLY, Includes: Ref. 13 - 20

1шт.

13

A27384

O-RING,0.139" Thk x 5.234" ID, -252, Cl 5, 75 Duro

1шт.

Part of Seal Kit, P/N G105514

1шт.

14

S92644

RING

- back up

1шт.

Part of Seal Kit, P/N G105514

1шт.

15

G102569

PLUG

GLAND - plug

1шт.

16

NSS

NOT SOLD SEPARAT

GLAND

1шт.

17

G102427

BUSHING,63.5mm ID x 60.22mm OD x 37.85mm L

BEARING

1шт.

Part of Seal Kit, P/N G105514

1шт.

18

G104902

RING

SEAL

1шт.

Part of Seal Kit, P/N G105514

1шт.

19

D45571

ROD

SEAL

1шт.

Part of Seal Kit, P/N G105514

1шт.

20

D95146

WIPER SEAL,63.4mm ID x 76.22mm OD x 7.92mm Thk

WIPER

1шт.

21

S237578

PISTON ROD

ROD - piston, Includes: Ref. 22

1шт.

22

S202131

BUSHING

- piston rod

2шт.

23

219-1

LUBE NIPPLE,1/8" - 27 NPTF

FITTING - grease

3шт.

24

G105514

KIT

- seal repair (Includes Ref. 8, 9, 13, 14, and 17, - 19)

1шт.

Выбрано товаров: 32