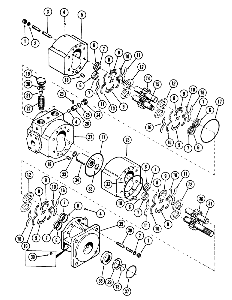
Запчасти Case 50 (6-130) - TRACK DRIVE MOTOR, DUAL SPEED (06) - POWER TRAIN

Схема запчастей Case 50 - (6-130) - TRACK DRIVE MOTOR, DUAL SPEED (06) - POWER TRAIN
FIT
1:1
100%

Артикул

Название

Примечание

Количество

S514673

MOTOR

- track drive, Includes: Ref. 1 - 39

2шт.

1

L32829

NUT

16шт.

2

A39046

WASHER,13.11mm ID x 22.23mm OD x 3.34mm Thk

16шт.

3

S109072

STUD - rear section

8шт.

4

211-7

BALL,1/4" Dia

4шт.

5

S109070

BODY

rear section

1шт.

L32840

BUSHING

- (not illustrated)

2шт.

6

D42428

O-RING

8шт.

7

S113607

OIL SEAL

RING - back up

8шт.

8

S113609

SEPARATOR

- center

4шт.

9

S113608

SEPARATOR

- end

8шт.

10

S108887

STRAP

STRIP - sealing

8шт.

11

S117935

PLATE

- isolation (bottom)

4шт.

12

S117933

PLATE

- pressure

4шт.

13

S117938

O-RING,0.07" Thk x 1.989" ID, -33, Cl 5, 75 Duro

1шт.

14

S117940

GEAR

- idler

1шт.

15

S117939

GEAR

- drive

1шт.

16

S117934

PLATE

- isolation (top)

4шт.

17

S113611

O-RING

2шт.

18

D41414

PIN

DOWEL

6шт.

19

218-5161

PLUG,Hex Hd, 1 5/8"-12 ORB

2шт.

20

218-5011

O-RING,0.118" Thk x 1.475" ID, -920, Cl 6, 90 Duro

2шт.

21

S98718

SPRING

2шт.

22

S109075

PISTON

2шт.

23

5258

STRAP

PIN - roll

2шт.

24

76349

PLUG,9/16" - 18 ORB

3шт.

25

218-5005

O-RING,0.078" Thk x 0.468" ID, -906, Cl 6, 90 Duro

6-1, 90 Duro, .468" ID x .078" Thk

3шт.

26

S98720

SEAT

2шт.

27

S109074

PLATE - bearing

1шт.

L32840

BUSHING

- (not illustrated)

2шт.

28

S109069

BODY

- front section

1шт.

L32480

BUSHING

- (not illustrated)

2шт.

29

S117944

WASHER

O-RING

1шт.

30

S117945

GEAR

- idler

1шт.

31

S117943

GEAR

- drive

1шт.

32

S113610

O-RING

1шт.

33

S117941

RING - snap

2шт.

34

S109076

COUPLING

- spline

1шт.

35

L35774

FLANGE

- mounting

1шт.

L32840

BUSHING

- (not illustrated)

2шт.

36

S117946

STUD - front section

8шт.

37

D41419

RING

- snap

1шт.

38

S117936

SEAL,31.67mm ID x 50.86mm OD x 11mm Thk

1шт.

VENDOR MADE A CHANGE IN 1984. THEY NOW USE AN IMPROVED DOUBLE LIP SEAL, PART# S98646.

1шт.

39

L35776

PLUG

- seal drain

2шт.

40

S239581

KIT

- seal (consists of Ref. 32 and 38)

1шт.

41

S239582

PUMP

KIT - front section (consists of Ref. 4, 6 thru 12, 16 thru 18 28, 29, 32 thru 35 and 37 thru 39)

1шт.

42

S239580

KIT, rear section (consists of Ref. 4 thru 13, 16 thru 27, 33 and 34

1шт.

Выбрано товаров: 48