Запчасти Case 50 (7-138) - INNER SWIVEL, USED WITH TRACK BRAKE AND HI-LOW RANGE SHIFTER (07) - BRAKES

Схема запчастей Case 50 - (7-138) - INNER SWIVEL, USED WITH TRACK BRAKE AND HI-LOW RANGE SHIFTER (07) - BRAKES
FIT
1:1
100%

Артикул

Название

Примечание

Количество

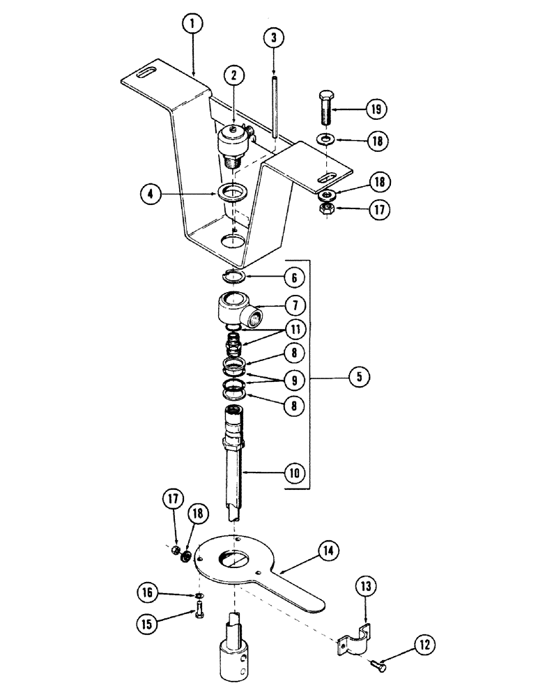
S612193

PIVOT

SWIVEL ASSEMBLY, inner, Includes: Ref. 1 - 10

1шт.

1

234874

BRACKET

1шт.

2

REF

INSTRUCTION

SWIVEL - (for breakdown, see Figure 7-140)

1шт.

3

138-169

LOCK PIN,5/16" x 4", Slotted

Pin, 5/16" x 4", Slotted

2шт.

4

S71802

NYLON BEARING,0.756" ID x 1.187" OD x 0.375"

BEARING, nylon

2шт.

5

S229478

SWIVEL CONNECTION

SWIVEL, inner, Includes: Ref. 6 - 10

1шт.

6

C13513

RING

retaining

1шт.

7

S111313

SLEEVE

swivel

1шт.

8

A35698

BACK-UP RING

RING, back up

2шт.

9

S6480

O-RING,0.737" ID x 0.943" OD x 0.103"

"O" RING - .737" ID x .939' OD

2шт.

10

S229479

TUBE,0.746" OD x 23.05" L

ASSEMBLY, inner swivel

1шт.

11

218-5352

HYD CONNECTOR,9/16"-18, 37 Degree x 7/16"-20, O-Ring

CONNECTOR - (3/8" tube) - 7/16" - 20 male x 9/16" - 18 male - 37 degrees flared

1шт.

218-5003

O-RING,0.072" Thk x 0.351" ID, -904, Cl 6, 90 Duro

"O" RING

1шт.

12

113-104

BOLT,Hex, 5/16" - 18 x 1-1/4", Gr 5

- 3/8" NC x 1-1/4" Gr 5

2шт.

13

S85438

CLAMP

1шт.

14

S237399

LARGE PLATE

PLATE, lower swivel mounting

1шт.

15

113-103

BOLT,Hex, 5/16" - 18 x 1", Gr 5

3шт.

16

192-20

LOCK WASHER,Helical Spring, 0.318" ID, CST, ZND

WASHER, LOCK, 5/16"

3шт.

17

131-176

LOCK NUT,Prev Torque, Hex, 5/16" - 18, Gr A

NUT, self locking - 5/16" NC

4шт.

18

195-102

WASHER,1/4"

flat - 5/16"

8шт.

19

113-104

BOLT,Hex, 5/16" - 18 x 1-1/4", Gr 5

2шт.

Выбрано товаров: 21