Запчасти Case 50 (8-184) - POWER SENSING RELIEF VALVE (08) - HYDRAULICS

Схема запчастей Case 50 - (8-184) - POWER SENSING RELIEF VALVE (08) - HYDRAULICS
FIT
1:1
100%

Артикул

Название

Примечание

Количество

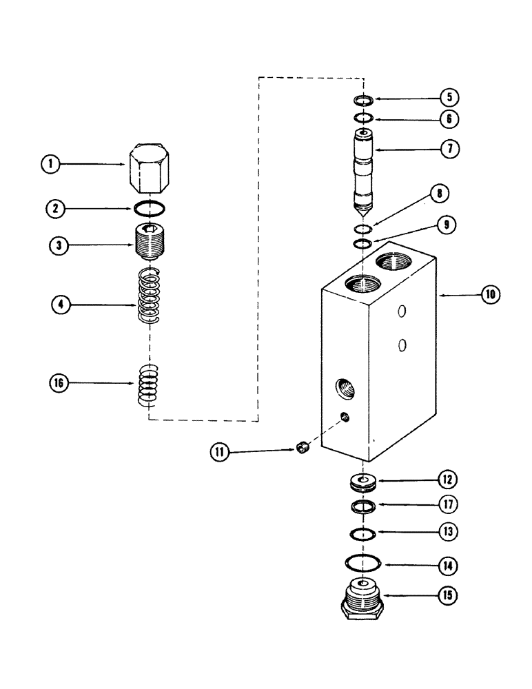
S509073

VALVE

- power sensing relief, Includes: Ref. 1 - 17

1шт.

1

S99874

CAP

2шт.

2

S99870

WASHER

- seal

2шт.

Part of Seal and O-Ring Kit, P/N S107846

1шт.

3

S99875

SCREW

- adjuster

2шт.

4

S99872

SPRING

2шт.

5

C11865

RING

- back up

2шт.

Part of Seal and O-Ring Kit, P/N S107846

1шт.

6

S6144

O-RING,0.07" Thk x 0.364" ID, -12, Cl 5, 75 Duro

- .364" ID x .500" OD

2шт.

Part of Seal and O-Ring Kit, P/N S107846

1шт.

7

NSS

NOT SOLD SEPARAT

PISTON

2шт.

8

W13170

O-RING,0.395" ID x 0.04" Width

2шт.

Part of Seal and O-Ring Kit, P/N S107846

1шт.

9

S99879

RING

- back up

2шт.

Part of Seal and O-Ring Kit, P/N S107846

1шт.

10

NSS

NOT SOLD SEPARAT

BODY - valve

1шт.

11

83-55

SET SCREW,Hex Soc, 5/16"-18 x 5/16", Cup Pt

1шт.

12

S99946

SEAT

2шт.

13

D26265

O-RING,1.78mm Thk x 14mm ID, 70 Duro

- .551" ID x .687" OD

2шт.

Part of Seal and O-Ring Kit, P/N S107846

1шт.

14

237-6010

O-RING,0.097" Thk x 0.755" ID, -910, Cl 6, 90 Duro

- .755" ID x .949" OD

2шт.

Part of Seal and O-Ring Kit, P/N S107846

1шт.

15

S99876

CONNECTOR, ELEC

CONNECTOR - reducing

2шт.

16

S107871

SPRING

- compression

2шт.

17

L30012

RING

- back up

2шт.

Part of Seal and O-Ring Kit, P/N S107846

1шт.

18

S107816

SEAL ASSY.

KIT - seal and O-ring (Includes Ref. 2, 5, 6, 8, 9, 13, 14 and 17)

1шт.

Выбрано товаров: 27