Запчасти Case C90R (NH090-02[01]) - HYDRAULIC CIRCUIT - CUTTER CRUSHER C90B - C90R

Схема запчастей Case C90R - (NH090-02[01]) - HYDRAULIC CIRCUIT - CUTTER CRUSHER C90B - C90R
20
29
1.14
12
1.14
3.01
1.13
1.10
1.04
1.02
1.15
1.15
1.11
4
1.07
3.02
1.07
1.15
1.08
1.15
1.15
1.07
1.08
1.15
1.15
1.03
1.14
1.12
1.15
1.15
1.08
1.07
31
26
1.14
1.09
34
1.01
36
1.14
3.01
3.03
1.15
FIT
1:1
100%

Артикул

Название

Примечание

Количество

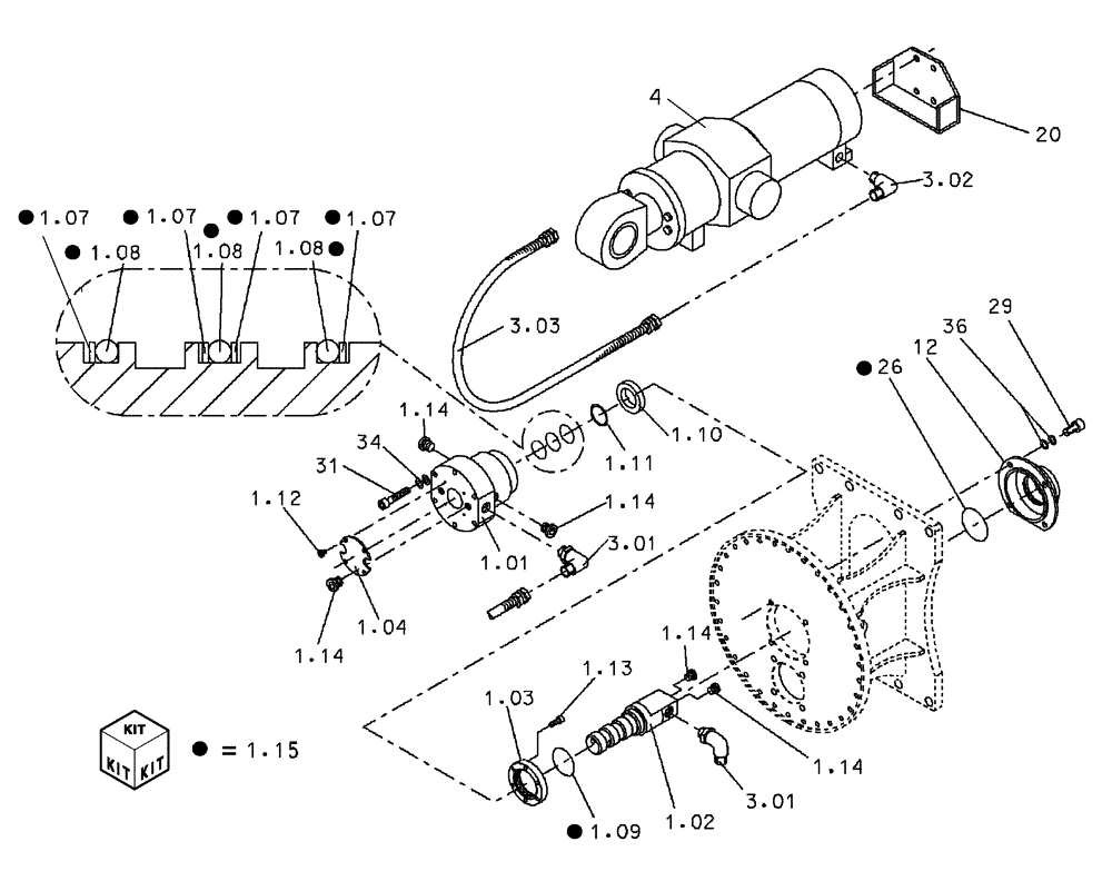
1.01

NSS

NOT SOLD SEPARAT

1шт.

1.02

NSS

NOT SOLD SEPARAT

1шт.

1.03

NSS

NOT SOLD SEPARAT

1шт.

1.04

NSS

NOT SOLD SEPARAT

1шт.

1.07

NSS

NOT SOLD SEPARAT

D40

4шт.

1.08

NSS

NOT SOLD SEPARAT

D40

3шт.

1.09

NSS

NOT SOLD SEPARAT

D50

1шт.

1.10

NSS

NOT SOLD SEPARAT

1шт.

1.11

NSS

NOT SOLD SEPARAT

40 x 1.75 DIN 471

1шт.

1.12

ZK901306

SCREW

4шт.

1.13

NSS

NOT SOLD SEPARAT

M6 x 16-12.9 DIN 912

6шт.

1.14

349826A1

PLUG

R1/4

6шт.

1.15

87684106

SEAL

1шт.

Include(s) Ref. Numbers : 1.07, 1.08, 1.09, 26

1шт.

3.01

NSS

NOT SOLD SEPARAT

C40XS16-1/2

4шт.

3.02

NSS

NOT SOLD SEPARAT

C3XS16-1/2

2шт.

3.03

NSS

NOT SOLD SEPARAT

2шт.

4

NSS

NOT SOLD SEPARAT

1шт.

See Page NH090-03 01

1шт.

12

NSS

NOT SOLD SEPARAT

1шт.

20

NSS

NOT SOLD SEPARAT

1шт.

26

NSS

NOT SOLD SEPARAT

D59

1шт.

29

87684080

SCREW

M10 x 25-8.8 DIN 912

4шт.

31

NSS

NOT SOLD SEPARAT

M8 x 60-8.8 DIN 912

6шт.

34

NSS

NOT SOLD SEPARAT

M8 NORD-LOCK

6шт.

36

87625925

LOCK WASHER

M10 NORD-LOCK

8шт.

Выбрано товаров: 26