Качественные детали и логистика
Оригинальные и аналоговые запчасти с доставкой по России, Казахстану и Беларуси
©2022 PartSell ООО "Система" ИНН 2463123282 ОГРН 1212400004838
Центральный офис: г. Красноярск, Академика Киренского, д.87, пом.4
Телефон: 8 (800) 777-65-74 Email: zakaz@partsell.ru
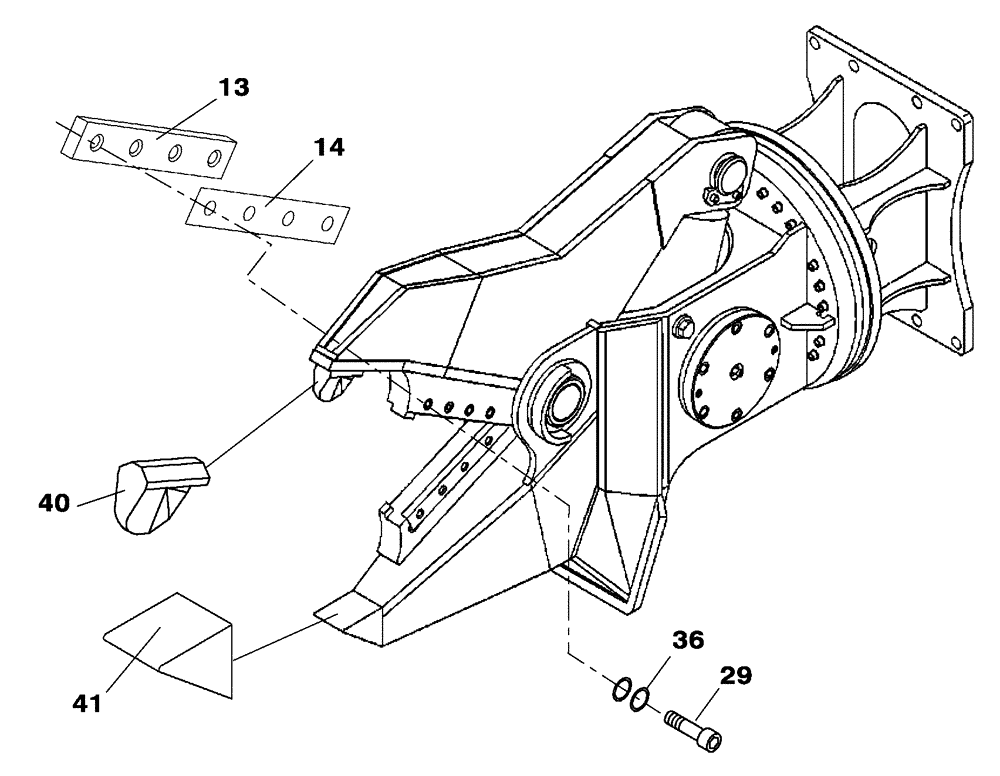
(NH090-08[01]) - TOOTH - CUTTING BLADE - CUTTER CRUSHER C90B - C90R
№
Артикул
Название
Примечание
Количество
13
87684085
BLADE
2шт.
14
87684086
SHIM
1шт.
29
87684080
SCREW
M10 x 25-8.8 DIN 912
8шт.
36
87625925
LOCK WASHER
M10 NORD-LOCK
40
87684087
TOOTH
41
87684089
Выбрано товаров: 0