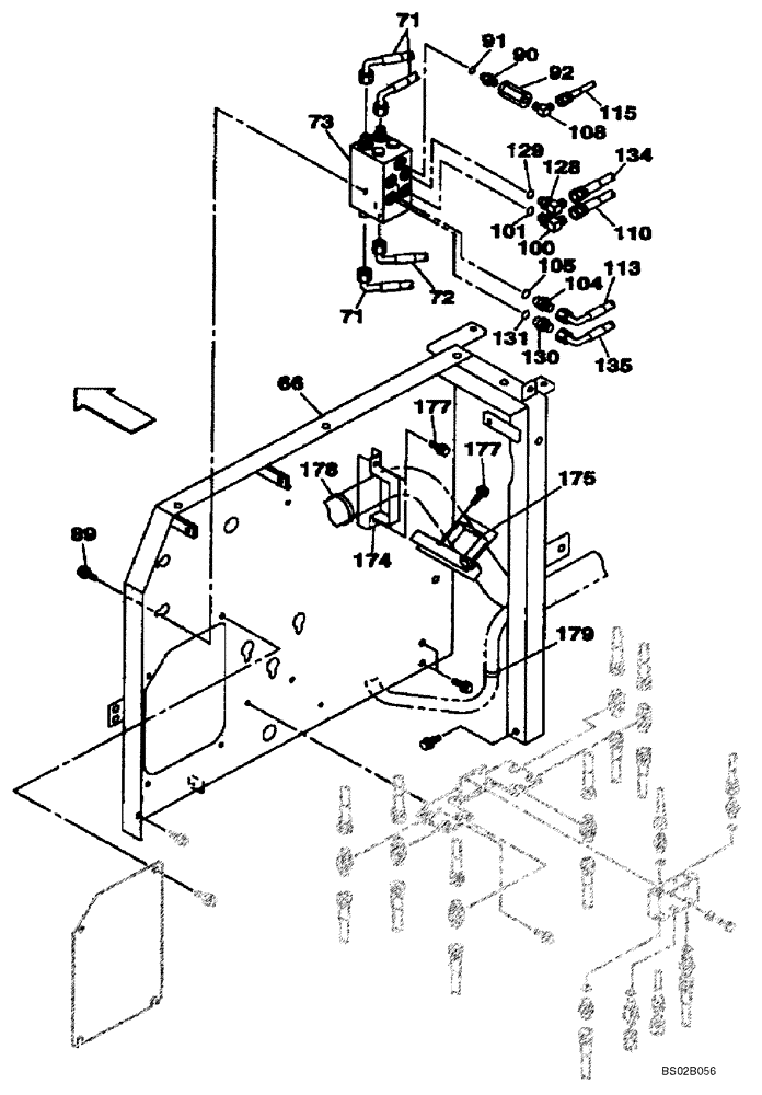
Запчасти Case CX130 (08-040) - HYDRAULICS - PILOT CONTROL LINES (08) - HYDRAULICS

Схема запчастей Case CX130 - (08-040) - HYDRAULICS - PILOT CONTROL LINES (08) - HYDRAULICS
90
177
113
131
130
134
115
91
129
73
110
108
72
71
175
177
178
135
174
89
66
100
100
92
179
104
71
128
105
FIT
1:1
100%

Артикул

Название

Примечание

Количество

Partition

1шт.

Standard Models

1шт.

66

KNJ2995

BRACKET

Replaces KNJ2888

1шт.

71

168411A1

HOSE,650.00 mm

See Figure 08-039

3шт.

72

KTJ1639

HOSE

See Figure 08-039

1шт.

73

KNJ14260

VALVE

Replaces KNJ2951

1шт.

89

627-10025

BOLT,Hex, M10 x 1.5 x 25mm, Cl 10.9, Full Thd

2шт.

896-11010

WASHER,11mm ID x 21mm OD x 2.5mm Thk

2шт.

90

152899A1

HYD CONNECTOR

Incl. 91

1шт.

91

154467A1

O-RING,10.8mm ID x 2.4mm Width

1шт.

92

151552A1

FILTER

1шт.

100

150916A1

ELBOW,90 Degree, 3/8" O-Ring x 3/8"

Incl. 101

1шт.

101

154475A1

O-RING

1шт.

104

152128A1

HYD CONNECTOR,3/8" NPT O-Ring x 3/8" NPT

Incl. 105

1шт.

105

154475A1

O-RING

1шт.

108

153603A1

ADAPTER

1шт.

110

159228A1

HOSE ASSY.

1750 mm (68-7/8 in), See Figure 08-047

1шт.

113

159229A1

HOSE ASSY.

1650 mm (65 in), See Figure 08-047

1шт.

115

161271A1

HOSE ASSY.

1650 mm (65 in), See Figure 08-048

1шт.

128

150916A1

ELBOW,90 Degree, 3/8" O-Ring x 3/8"

Incl. 129

1шт.

129

154475A1

O-RING

1шт.

130

152128A1

HYD CONNECTOR,3/8" NPT O-Ring x 3/8" NPT

Incl. 131

1шт.

131

154475A1

O-RING

1шт.

134

164115A1

HYDRAULIC HOSE

See Figure 08-047

1шт.

135

KAJ2759

HYDRAULIC HOSE

See Figure 08-047

1шт.

174

159036A1

CLAMP

1шт.

175

162506A1

CLAMP

1шт.

177

627-8020

BOLT,Hex, M8 x 1.25 x 20mm, Cl 10.9, Full Thd

4шт.

896-15008

WASHER,9mm ID x 21mm OD x 2.5mm Thk

4шт.

178

150071A1

MOUNTING CLIP

1шт.

179

150496A1

MOUNTING CLIP

250 mm (10 in)

1шт.

Выбрано товаров: 31