Запчасти Case CX130 (08-046) - HYDRAULICS - PILOT CONTROL LINES (08) - HYDRAULICS

Схема запчастей Case CX130 - (08-046) - HYDRAULICS - PILOT CONTROL LINES (08) - HYDRAULICS
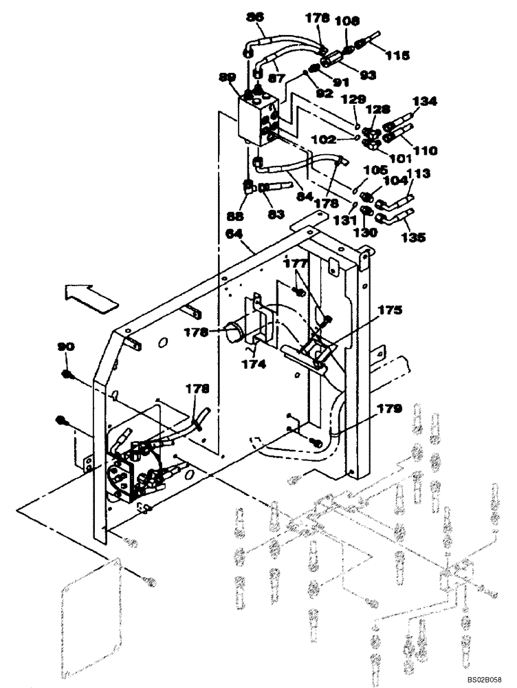
179
178
104
84
64
130
91
175
134
101
131
174
83
128
113
93
108
177
89
105
91
29
87
88
135
90
1
178
110
86
178
115
178
FIT
1:1
100%

Артикул

Название

Примечание

Количество

Partition

1шт.

Models With Load Hold And Alternate Joystick Control Pattern

1шт.

64

KNJ2995

BRACKET

1шт.

83

KHJ1062

HYDRAULIC HOSE,9.52 mm ID x 550.00 mm

See Figure 08-045

1шт.

84

KHJ1352

HYDRAULIC HOSE,9.52 mm ID x 600.00 mm

See Figure 08-045

1шт.

86

KAJ2467

HYDRAULIC HOSE

See Figure 08-045

1шт.

87

168411A1

HOSE,650.00 mm

See Figure 08-045

1шт.

88

153526A1

ELBOW

1шт.

89

KNJ14260

VALVE

Replaces KNJ2951

1шт.

90

627-10025

BOLT,Hex, M10 x 1.5 x 25mm, Cl 10.9, Full Thd

2шт.

896-11010

WASHER,11mm ID x 21mm OD x 2.5mm Thk

2шт.

91

152899A1

HYD CONNECTOR

Incl. 92

1шт.

92

154467A1

O-RING,10.8mm ID x 2.4mm Width

1шт.

93

151552A1

FILTER

1шт.

101

150916A1

ELBOW,90 Degree, 3/8" O-Ring x 3/8"

Incl. 102

1шт.

102

154475A1

O-RING

1шт.

104

152128A1

HYD CONNECTOR,3/8" NPT O-Ring x 3/8" NPT

Incl. 105

1шт.

105

154475A1

O-RING

1шт.

108

153603A1

ADAPTER

1шт.

110

159228A1

HOSE ASSY.

1750 mm (68-7/8 in), See Figure 08-051

1шт.

113

159229A1

HOSE ASSY.

1650 mm (65 in), See Figure 08-051

1шт.

115

161482A1

HOSE ASSY.

1650 mm (65 in), See Figure 08-052

1шт.

128

150916A1

ELBOW,90 Degree, 3/8" O-Ring x 3/8"

Incl. 129

1шт.

129

154475A1

O-RING

1шт.

130

152128A1

HYD CONNECTOR,3/8" NPT O-Ring x 3/8" NPT

Incl. 131

1шт.

131

154475A1

O-RING

1шт.

134

164115A1

HYDRAULIC HOSE

See Figure 08-051

1шт.

135

KAJ2759

HYDRAULIC HOSE

See Figure 08-051

1шт.

174

159036A1

CLAMP

1шт.

175

162506A1

CLAMP

1шт.

177

627-8020

BOLT,Hex, M8 x 1.25 x 20mm, Cl 10.9, Full Thd

4шт.

896-15008

WASHER,9mm ID x 21mm OD x 2.5mm Thk

4шт.

178

150071A1

MOUNTING CLIP

3шт.

179

150496A1

MOUNTING CLIP

250 mm (10 in)

1шт.

Выбрано товаров: 34