Запчасти Case CX130 (08-053) - HYDRAULICS - PILOT PRESSURE, RETURN LINES (DAC0713099 - DAC0713245) (08) - HYDRAULICS

Схема запчастей Case CX130 - (08-053) - HYDRAULICS - PILOT PRESSURE, RETURN LINES (DAC0713099 - DAC0713245) (08) - HYDRAULICS
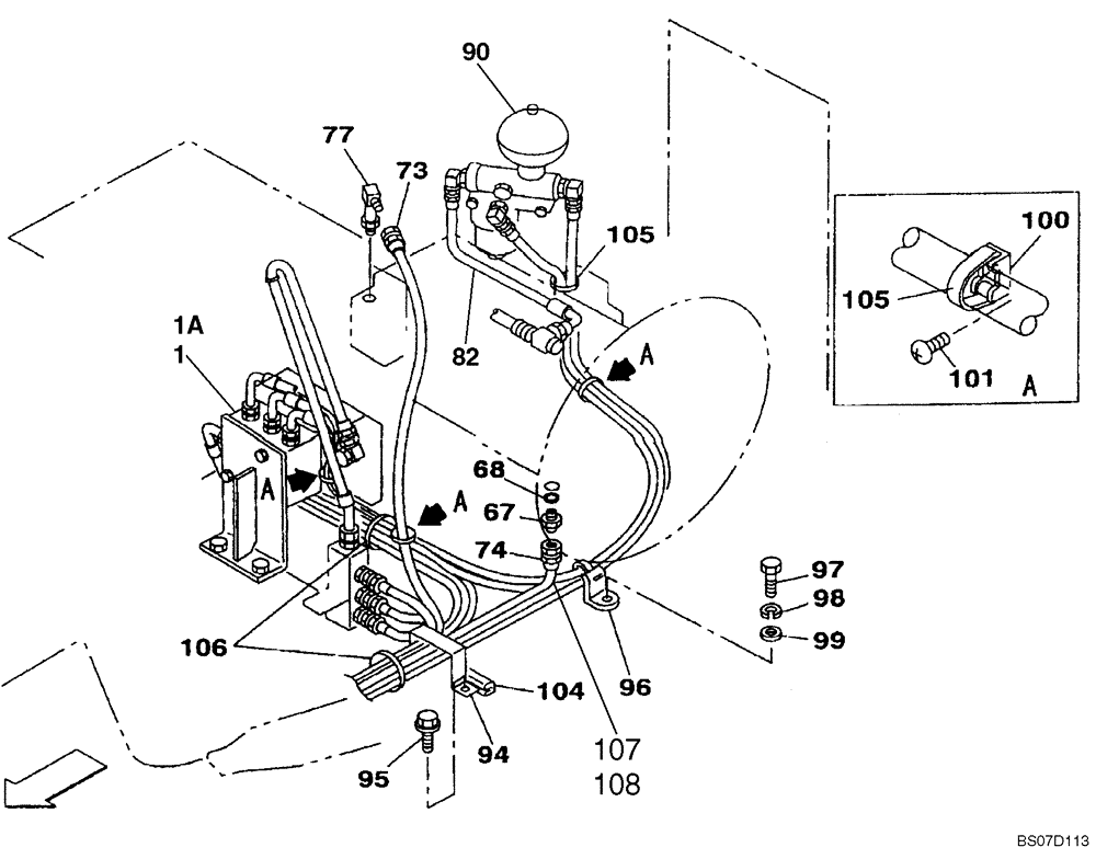
105
104
68
101
107
100
105
74
90
67
94
77
1a
108
96
99
82
1
98
95
106
97
73
FIT
1:1
100%

Артикул

Название

Примечание

Количество

1

KHJ1972

SOLENOID VALVE

See Figure 08-096; No Longer Available, Order KHJ15460

1шт.

1a

KHJ15460

SOLENOID VALVE

See Figure 08-096A

1шт.

67

152127A1

HYD CONNECTOR,1/4" NPT O-Ring x 1/4" NPT

Incl. 68

1шт.

68

154467A1

O-RING,10.8mm ID x 2.4mm Width

1шт.

73

159007A1

HOSE

See Figure 08-058

1шт.

74

152581A1

HOSE,6.3mm ID x 1900mm L

See Figure 08-058

1шт.

77

KHJ1178

ELBOW

1шт.

82

KHJ1168

HYDRAULIC HOSE,9.52 mm ID x 350.00 mm

See Figure 08-056

1шт.

90

REF

INSTRUCTION

See Figure 08-056

1шт.

94

161095A1

CLAMP

1шт.

95

627-8020

BOLT,Hex, M8 x 1.25 x 20mm, Cl 10.9, Full Thd

2шт.

896-15008

WASHER,9mm ID x 21mm OD x 2.5mm Thk

2шт.

96

KHR2582

CLAMP

1шт.

97

627-10030

BOLT,Hex, M10 x 1.5 x 30mm, Cl 10.9, Full Thd

1шт.

98

892-11010

LOCK WASHER,M10

1шт.

99

895-11010

WASHER,11mm ID x 20mm OD x 2mm Thk

1шт.

100

150860A1

COLLAR

3шт.

101

840-168

SCREW,Pan, M6 x 1 x 8mm, Cl 4.8

3шт.

104

167839A1

GROMMET

1шт.

105

150496A1

MOUNTING CLIP

250 mm (10 in)

4шт.

106

150071A1

MOUNTING CLIP

2шт.

107

152662A1

PLASTIC-RUBBER TUBE

150 mm

1шт.

108

150067A1

MOUNTING CLIP

2шт.

Выбрано товаров: 0