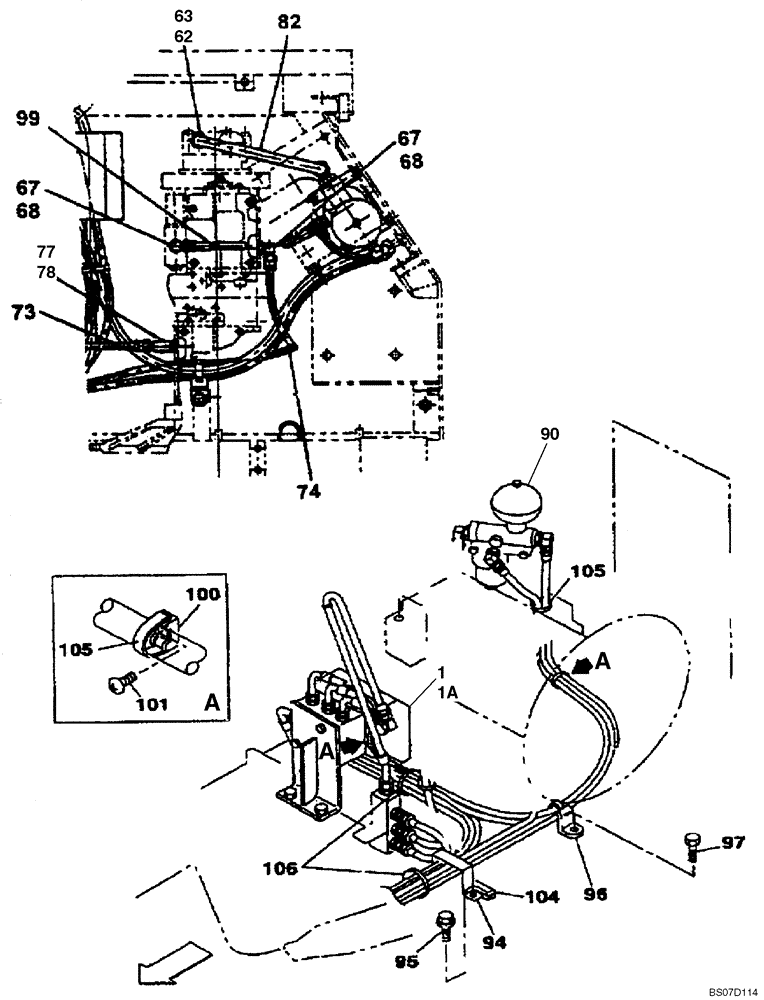
Запчасти Case CX130 (08-054) - HYDRAULICS - PILOT PRESSURE, RETURN LINES (DAC0713246 - ) (08) - HYDRAULICS

Схема запчастей Case CX130 - (08-054) - HYDRAULICS - PILOT PRESSURE, RETURN LINES (DAC0713246 - ) (08) - HYDRAULICS
90
82
73
62
77
67
96
104
74
106
99
105
1
94
68
68
63
100
95
78
105
97
101
1a
67
FIT
1:1
100%

Артикул

Название

Примечание

Количество

1

KHJ1972

SOLENOID VALVE

See Figure 08-096; No Longer Available, Order KHJ15460

1шт.

1a

KHJ15460

SOLENOID VALVE

See Figure 08-096a

1шт.

62

151650A1

HYD CONNECTOR,1/2" NPT O-Ring x 1/2" NPT

Incl. 63

1шт.

63

154487A1

O-RING

1шт.

67

150913A1

ELBOW,90 Degree, 1/4" O-Ring x 1/4"

Incl. 68

2шт.

68

154467A1

O-RING,10.8mm ID x 2.4mm Width

1шт.

73

KHJ1233

HYDRAULIC HOSE,6.35 mm ID x 2150.00 mm

See Figure 08-059; Replaces KAJ3240

1шт.

74

KHJ2691

HYDRAULIC HOSE,6.30 mm ID x 2600.00 mm

See Figure 08-059; Replaces 152270A1

1шт.

77

167666A1

FITTING

Incl. 78

1шт.

78

154467A1

O-RING,10.8mm ID x 2.4mm Width

1шт.

82

KNJ3036

HYDRAULIC HOSE,12.70 mm ID x 510.00 mm

See Figure 08-057

1шт.

90

REF

INSTRUCTION

See Figure 08-057

1шт.

94

161095A1

CLAMP

1шт.

95

627-8020

BOLT,Hex, M8 x 1.25 x 20mm, Cl 10.9, Full Thd

2шт.

896-15008

WASHER,9mm ID x 21mm OD x 2.5mm Thk

2шт.

96

KHR2582

CLAMP

1шт.

97

KHJ2298

BOLT,Spcl

1шт.

99

KHJ2419

HYDRAULIC HOSE,6.30 mm ID x 270.00 mm

See Figure 08-057

1шт.

100

150860A1

COLLAR

3шт.

101

840-168

SCREW,Pan, M6 x 1 x 8mm, Cl 4.8

3шт.

104

167839A1

GROMMET

1шт.

105

150496A1

MOUNTING CLIP

250 mm (10 in)

1шт.

106

150071A1

MOUNTING CLIP

1шт.

Выбрано товаров: 23