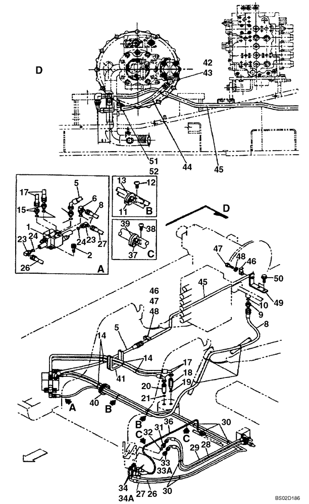
Запчасти Case CX130 (08-115) - HYDRAULICS - BLADE, DOZER (DAC0713246 - ) (08) - HYDRAULICS

Схема запчастей Case CX130 - (08-115) - HYDRAULICS - BLADE, DOZER (DAC0713246 - ) (08) - HYDRAULICS
23
32
14
17
47
38
12
28
24
31
27
41
48
8
30
19
13
49
40
23
39
33
52
33a
11
10
46
1
44
51
37
30
5
24
45
21
15
48
8
36
29
18
5
26
17
42
27
9
26
2
34
46
45
14
20
6
47
43
34a
50
FIT
1:1
100%

Артикул

Название

Примечание

Количество

Models With Load Hold

1шт.

1

168709A1

VALVE SECTION

Blade Control, See Figure 08-120

1шт.

2

862-10025

HEX SOC SCREW,M10 x 25mm, Cl 12.9

3шт.

3

151650A1

HYD CONNECTOR,1/2" NPT O-Ring x 1/2" NPT

Incl. 4

1шт.

4

154487A1

O-RING

1шт.

5

KNJ2962

HYDRAULIC HOSE,12.70 mm ID x 730.00 mm

1шт.

6

150919A1

ELBOW,90 Degree, 1/2" O-Ring x 1/2"

Incl. 7

1шт.

7

154487A1

O-RING

1шт.

8

KSJ2757

HYDRAULIC HOSE,12.70 mm ID x 2250.00 mm

1шт.

9

151650A1

HYD CONNECTOR,1/2" NPT O-Ring x 1/2" NPT

Incl. 10

1шт.

10

154487A1

O-RING

1шт.

11

150860A1

COLLAR

2шт.

12

840-168

SCREW,Pan, M6 x 1 x 8mm, Cl 4.8

2шт.

13

150496A1

MOUNTING CLIP

250 mm (10 in)

2шт.

14

150071A1

MOUNTING CLIP

1шт.

15

151650A1

HYD CONNECTOR,1/2" NPT O-Ring x 1/2" NPT

Incl. 16

2шт.

16

154487A1

O-RING

1шт.

17

KNJ2961

HYDRAULIC HOSE,12.70 mm ID x 1150.00 mm

2шт.

18

KHJ2232

ADAPTER

Incl. 19

1шт.

19

154487A1

O-RING

1шт.

20

167645A1

FITTING

Incl. 21

1шт.

21

154487A1

O-RING

1шт.

22

150071A1

MOUNTING CLIP

1шт.

23

150913A1

ELBOW,90 Degree, 1/4" O-Ring x 1/4"

Incl. 24

2шт.

24

154467A1

O-RING,10.8mm ID x 2.4mm Width

1шт.

26

163359A1

HOSE ASSY.

1шт.

27

166180A1

HYDRAULIC HOSE

1шт.

28

KSJ2117

HOSE

1шт.

29

164236A1

HOSE ASSY.

1000 mm (39-3/8 in)

1шт.

30

150496A1

MOUNTING CLIP

250 mm (10 in)

1шт.

31

152127A1

HYD CONNECTOR,1/4" NPT O-Ring x 1/4" NPT

Incl. 32

1шт.

32

154467A1

O-RING,10.8mm ID x 2.4mm Width

1шт.

33

161841A1

HYD CONNECTOR

Incl. 33A

1шт.

33a

154467A1

O-RING,10.8mm ID x 2.4mm Width

1шт.

34

KHJ1038

ADAPTER

Incl. 34A

2шт.

34a

154467A1

O-RING,10.8mm ID x 2.4mm Width

1шт.

35

159599A1

PRESSURE SWITCH

2шт.

36

KHR3711

HARNESS

1шт.

37

150860A1

COLLAR

2шт.

38

840-168

SCREW,Pan, M6 x 1 x 8mm, Cl 4.8

2шт.

39

150496A1

MOUNTING CLIP

250 mm (10 in)

2шт.

40

KEJ0422

GROMMET

1шт.

41

163145A1

GROMMET

1шт.

42

157585A1

ELBOW

Incl. 43

1шт.

43

154487A1

O-RING

1шт.

44

KNJ3091

HYDRAULIC HOSE

1шт.

45

KNJ3108

PIPE ASSY.

1шт.

46

166401A1

HALF-FLANGE

2шт.

47

827-12060

BOLT,Hex, M12 x 1.75 x 60mm, Cl 10.9

2шт.

48

150811A1

WASHER

M12

2шт.

49

KNJ3090

SUPPORT

1шт.

50

152718A1

BOLT,Spcl, Hex Wshr, M12 x 25mm, Cl 10.9

2шт.

51

KHJ1076

CLAMP

1шт.

52

156559A1

BOLT,High Strength, Hex, M6 x 12mm, W/ LW

1шт.

Выбрано товаров: 54