Запчасти Case CX130 (08-138) - KNJ2977 PUMP ASSY, HYDRAULIC (08) - HYDRAULICS

Схема запчастей Case CX130 - (08-138) - KNJ2977 PUMP ASSY, HYDRAULIC (08) - HYDRAULICS
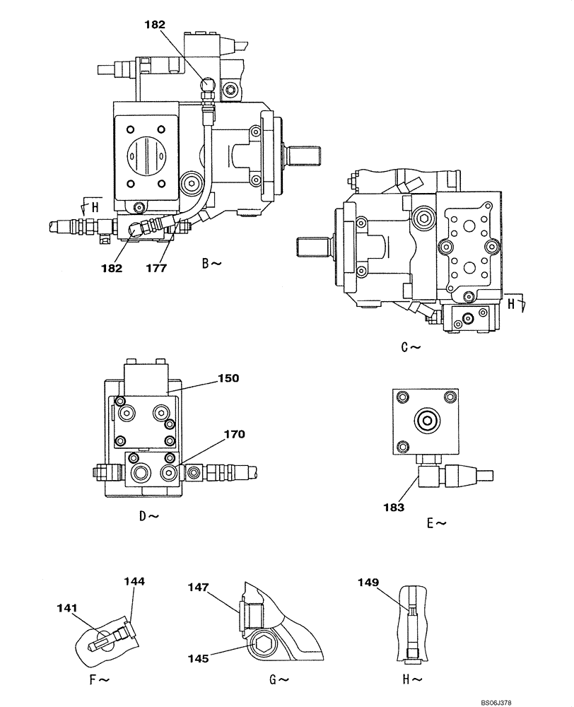
144
145
182
141
182
150
170
149
177
183
147
FIT
1:1
100%

Артикул

Название

Примечание

Количество

KNJ2977

PUMP, HYDRAULIC

Includes All Parts On Figures 08-137 - 08-144

1шт.

87341954

REMAN-HYD PUMP

Remanufactured HYD PUMP, For N.A. Only, Serial Range: DAC0713099-DAC0713245

1шт.

87341955

CORE-HYDRAULIC PUMP

Return Number, For N.A. Only

1шт.

141

LA00714

SPECIAL PIN

8шт.

144

LK00309

PLUG

8шт.

145

863-16060

HEX SOC SCREW,M16 x 60mm, Cl 12.9

8шт.

147

LK00118

PLUG

6шт.

149

164915A1

ORIFICE

2шт.

150

LJ00765

VALVE

See Figure 08-139

1шт.

170

LJ00906

VALVE, PRESSURE RELI

EF See Figure 08-139

1шт.

177

LK00373

HOSE

2шт.

182

LLP0106

ELBOW

5шт.

183

LK00315

ELBOW

2шт.

Выбрано товаров: 13