Запчасти Case CX130 (08-144) - KNJ2977 PUMP ASSY, HYDRAULIC - ROTOR (08) - HYDRAULICS

Схема запчастей Case CX130 - (08-144) - KNJ2977 PUMP ASSY, HYDRAULIC - ROTOR (08) - HYDRAULICS
13
2
4
23
16
12
18
10
15
23
11
26
27
24
1
9
25
26
19
24
3
6
27
7
14
5
13
25
17
8
10
22
21
15
20
FIT
1:1
100%

Артикул

Название

Примечание

Количество

KNJ2977

PUMP, HYDRAULIC

Includes All Parts On Figures 08-137 - 08-144

1шт.

87341954

REMAN-HYD PUMP

Remanufactured HYD PUMP - For N.A. Only

1шт.

87341955

CORE-HYDRAULIC PUMP

Return Number, For N.A. Only

1шт.

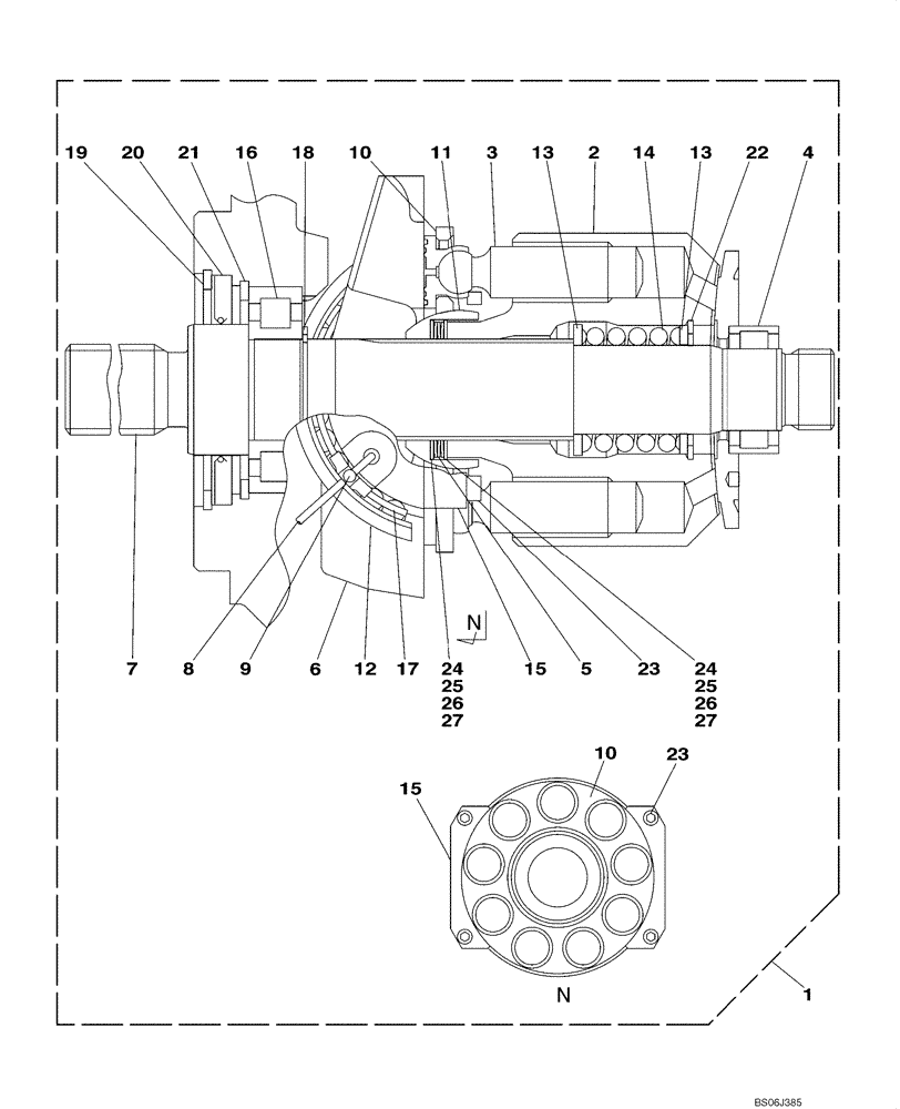
1

LU00182

ROTOR

Incl. 2 - 27

1шт.

2

LS00140

CYLINDER BLOCK

1шт.

3

LJ00771

PISTON

9шт.

4

LB00560

SPLINED COUPLING

1шт.

5

LG00351

SPRING

1шт.

6

LS00136

HANGER

1шт.

7

LB00955

SHAFT

1шт.

8

LA00717

SPECIAL PIN

4шт.

9

LS00137

GUIDE

4шт.

10

LH00394

RETAINER

1шт.

11

LS00138

GUIDE

1шт.

12

LS00139

GUIDE

1шт.

13

LH00259

SHIM

2шт.

14

LG00352

COMPRESSION SPRING

1шт.

15

LR01076

PLATE

2шт.

16

LB00562

BEARING, ROLLER, CYL

1шт.

17

LB00956

BEARING

1шт.

18

800-1135

SNAP RING,M35, Ext

1шт.

19

LA00718

RING, LOCKING

RING, LOCK

1шт.

20

LE01114

OIL SEAL

1шт.

21

800-2127

SNAP RING,M27, Int

1шт.

22

LA00719

RING, SNAP

RING SNAP

1шт.

23

LA00720

BOLT,Hex Skt Hd

4шт.

24

LH00260

SHIM

1шт.

25

LH00261

SHIM

1шт.

26

LH00262

SHIM

1шт.

27

LH00263

SHIM

1шт.

Выбрано товаров: 30