Запчасти Case CX130 (09-30) - AIR CONDITIONING - CONDENSER AND RECEIVER-DRIER (09) - CHASSIS

Схема запчастей Case CX130 - (09-30) - AIR CONDITIONING - CONDENSER AND RECEIVER-DRIER (09) - CHASSIS
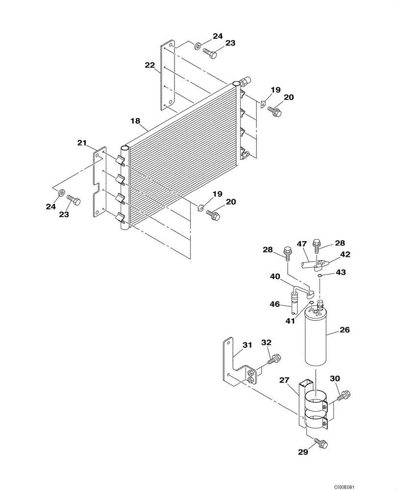
22
19
29
30
41
27
24
19
40
20
24
18
47
28
43
23
42
21
46
23
28
31
26
32
20
FIT
1:1
100%

Артикул

Название

Примечание

Количество

Condenser

1шт.

18

KHR2592

CONDENSER

1шт.

19

KHR2593

BRACKET

8шт.

20

162059A1

BOLT,M6 x 45mm

8шт.

21

KNR0614

PLATE

1шт.

22

KNR0615

PLATE

1шт.

23

827-10040

BOLT,Hex, M10 x 1.5 x 40mm, Cl 10.9, Full Thd

4шт.

24

150409A1

WASHER

4шт.

Evaporator

1шт.

26

KHR3751

RECEIVER-DRYER

Replaces 167528A1 (includes high/low press switch)

2шт.

27

159635A1

SUPPORT

2шт.

28

162043A1

BOLT,Spcl, M6

2шт.

29

167320A1

BOLT,Spcl, M8 x 20mm

2шт.

30

159906A1

BOLT,Sems, Hex, M6 x 20mm, Spcl

2шт.

31

KNR0645

SUPPORT

1шт.

32

627-10025

BOLT,Hex, M10 x 1.5 x 25mm, Cl 10.9, Full Thd

2шт.

896-11010

WASHER,11mm ID x 21mm OD x 2.5mm Thk

2шт.

40

KHR3062

HYD TUBE

HOSE,LARGE

1шт.

41

169054A1

O-RING

2шт.

42

KHR3063

HOSE

1шт.

43

169054A1

O-RING

2шт.

46

157768A1

PLASTIC-RUBBER TUBE

1шт.

47

150782A1

PLASTIC-RUBBER TUBE

1шт.

Выбрано товаров: 23