Запчасти Case CX130 (09-40) - BOOM (09) - CHASSIS

Схема запчастей Case CX130 - (09-40) - BOOM (09) - CHASSIS
13
15
11
19
19
12
3
18
12
6
1
2
4
9
2
2
16
3
12
17
12
10
5
11
8
13
7
17
16
14
FIT
1:1
100%

Артикул

Название

Примечание

Количество

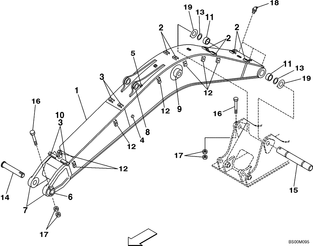
KNV13320

BOOM

4,63 m (15 ft 2 in), Incl. 1 - 12, Replaces KNV1099, KNV1421

1шт.

1

NSS

NOT SOLD SEPARAT

Boom

1шт.

2

152014A1

BAR

6шт.

3

151255A1

BAR

2шт.

4

150255A1

BAR

1шт.

5

160670A1

BAR

1шт.

6

163082A1

COLLAR

1шт.

7

KNV1114

BOSS

2шт.

8

160676A1

COLLAR

1шт.

9

160731A1

BOSS

2шт.

10

153646A1

BAR ASSY.

2шт.

11

KNV1140

SELF LUB RING

2шт.

12

163304A1

BAR

12шт.

13

160400A1

SEAL,75mm ID x 90mm OD x 5mm Thk

2шт.

14

KNV1245

PIN

1шт.

15

168453A1

PIN

1шт.

16

514-1221

BOLT,Hex, M20 x 1.5 x 160mm, Cl 10.9

Replaces 514-1223

2шт.

17

829-11420

NUT,M20 x 1.5, Cl 10

4шт.

18

153630A1

LUBE NIPPLE

3шт.

19

KNV1132

SHIM

2шт.

Выбрано товаров: 20