Запчасти Case CX130 (09-42) - ARM, EXCAVATOR (09) - CHASSIS

Схема запчастей Case CX130 - (09-42) - ARM, EXCAVATOR (09) - CHASSIS
16
13
9
15
6
2
5
11
10
17
15
3
17
9
16
17
14
10
15
4
15
11
7
FIT
1:1
100%

Артикул

Название

Примечание

Количество

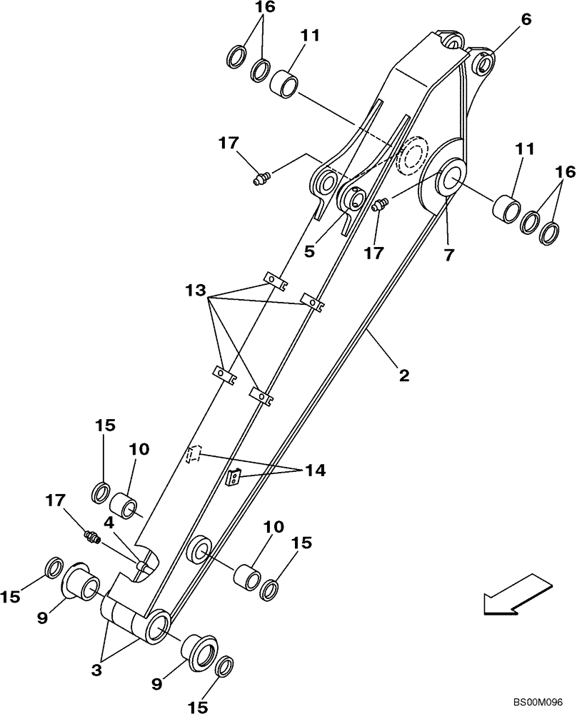
Arm 2,50 m (8 Ft 2 In)

1шт.

KNV1629

DIPPER

Incl. 2 - 14

1шт.

2

NSS

NOT SOLD SEPARAT

Arm

1шт.

3

KNV1232

BOSS

2шт.

4

151365A1

FITTING

1шт.

5

160675A1

COLLAR

1шт.

6

160676A1

COLLAR

1шт.

7

KNV1115

BOSS

2шт.

9

KNV1268

BUSHING

2шт.

10

150128A1

BUSHING,65mm ID x 80mm OD x 50mm L

2шт.

11

KNV1144

SELF LUB RING

2шт.

13

KNV1134

BAR

4шт.

14

KNV1158

BAR

2шт.

15

160674A1

SEAL,65mm ID x 80mm OD x 5mm Thk

4шт.

16

160400A1

SEAL,75mm ID x 90mm OD x 5mm Thk

2шт.

17

153630A1

LUBE NIPPLE

3шт.

Выбрано товаров: 16