Качественные детали и логистика
Оригинальные и аналоговые запчасти с доставкой по России, Казахстану и Беларуси
©2022 PartSell ООО "Система" ИНН 2463123282 ОГРН 1212400004838
Центральный офис: г. Красноярск, Академика Киренского, д.87, пом.4
Телефон: 8 (800) 777-65-74 Email: zakaz@partsell.ru
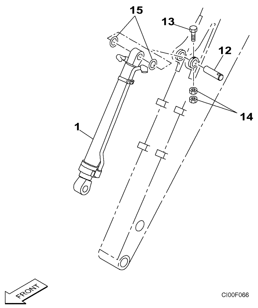
(09-45) - BUCKET CYLINDER - MOUNTING
№
Артикул
Название
Примечание
Количество
1
KNV1618
BUCKET CYLINDER
Bucket, See Figure 08-108
1шт.
12
160730A1
PIN,65mm OD x 214mm L
13
514-1112
BOLT,Hex, M16 x 1.5 x 140mm, Cl 10.9
Replaces 514-1111
14
829-13416
NUT,M16 x 1.5, Cl 10
2шт.
15
160734A1
SHIM
Выбрано товаров: 0