Запчасти Case CX130 (05-05E) - 500 MM (19-5/8 IN) TRACK - RUBBER (DAC0713350 - ) (11) - TRACKS/STEERING

Схема запчастей Case CX130 - (05-05E) - 500 MM (19-5/8 IN) TRACK - RUBBER (DAC0713350 - ) (11) - TRACKS/STEERING
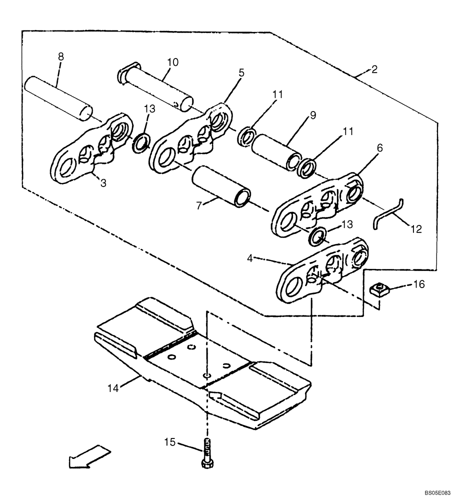
7
3
6
16
11
10
13
4
14
9
15
2
13
8
12
5
11
FIT
1:1
100%

Артикул

Название

Примечание

Количество

500 mm (19-5/8 in)

1шт.

2

KMA1281

CHAIN (CE)

Track, Incl. 3 - 13

2шт.

3

168860A1

LINK CHAIN

Track, Right Hand

42шт.

4

168861A1

LINK CHAIN

Track, Left Hand

42шт.

5

168862A1

LINK CHAIN

Master, Right Hand

1шт.

6

168863A1

LINK CHAIN

Master, Left Hand

1шт.

7

168864A1

BUSHING

42шт.

8

168865A1

PIN

42шт.

9

168646A1

BUSHING

1шт.

10

168866A1

PIN

Master

1шт.

11

168867A1

COLLAR

2шт.

12

168650A1

COTTER PIN

1шт.

13

168648A1

SEAL

84шт.

14

KMA1283

TRACK SHOE

43шт.

15

161062A1

BOLT,Spher Hex, M16 x 1.5 x 46mm

Shoe

172шт.

16

161063A1

NUT

172шт.

KMP1287BECA

CHAIN (CE)

Aftermarket Track Chain Assembly, Also Order KMP1288BECA Nuts

1шт.

KMP1288BECA

NUT

172шт.

Выбрано товаров: 18