Запчасти Case CX130 (05-13) - TRACK - ROLLER (DAC0713241 - ) (11) - TRACKS/STEERING

Схема запчастей Case CX130 - (05-13) - TRACK - ROLLER (DAC0713241 - ) (11) - TRACKS/STEERING
14
10
2
8
7
12
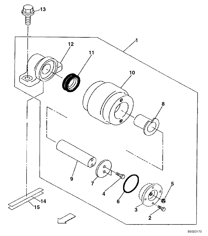
1
13
9
6
4
15
11
5
3
FIT
1:1
100%

Артикул

Название

Примечание

Количество

Upper

1шт.

KMA1275

ROLLER ASSY.

Incl. 2 - 14

2шт.

2

628-8020

BOLT,Hex, M8 x 20, 10.9, Full Thd

4шт.

3

KMA1278

COVER

1шт.

4

626-10016

BOLT,Hex, M10 x 1.5 x 16mm, Cl 10.9, Full Thd

2шт.

5

150821A1

PLUG

1шт.

6

154657A1

O-RING

1шт.

7

KMA1285

PLATE

1шт.

8

KMA1270

BUSHING

1шт.

9

KMA1277

SPINDLE

1шт.

10

KMA1276

SHIFTER ROLLER

1шт.

11

KHA0038

SEAL

1шт.

12

KMA1279

CASING, BEARING ROLL

1шт.

13

166348A1

BOLT

4шт.

14

160672A1

SHIM

2шт.

15

163144A1

SHIM

2шт.

Выбрано товаров: 0