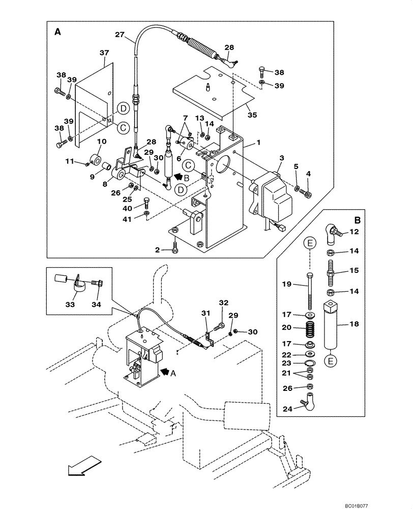
Запчасти Case CX130 (03-03) - THROTTLE CONTROL (03) - FUEL SYSTEM

Схема запчастей Case CX130 - (03-03) - THROTTLE CONTROL (03) - FUEL SYSTEM
24
38
31
30
39
33
35
12
21
8
28
17
15
38
2
7
10
38
26
39
27
4
26
14
25
17
9
34
40
14
29
5
11
28
41
39
6
37
13
14
22
20
18
3
29
23
30
32
1
19
FIT
1:1
100%

Артикул

Название

Примечание

Количество

1

166154A1

BRACKET

1шт.

2

627-12030

BOLT,Hex, M12 x 1.75 x 30mm, Cl 10.9, Full Thd

4шт.

896-11012

WASHER,13.5mm ID x 24mm OD x 3mm Thk

4шт.

3

159808A1

ELECTRIC MOTOR

1шт.

4

862-10040

HEX SOC SCREW,M10 x 40mm, Cl 12.9

4шт.

5

150409A1

WASHER

10,5 x 21 x 3,2 mm

4шт.

6

164625A1

LEVER

1шт.

7

878-10812

SET SCREW,Hex Skt, M8 x 12mm, Cup Pt

2шт.

8

160647A1

LINK

Incl. 9

1шт.

9

160377A1

BEARING, NEEDLE,16 mm ID x 24 mm OD x 26 mm

1шт.

10

162291A1

COLLAR CLAMP

1шт.

11

878-10812

SET SCREW,Hex Skt, M8 x 12mm, Cup Pt

1шт.

12

153235A1

BALL JOINT

1шт.

13

892-11008

LOCK WASHER,8mm ID

1шт.

14

829-1408

NUT,Hex, M8 x 1.25, Cl 10.9

3шт.

15

150547A1

ROD,THREADED

THREADED ROD

1шт.

16

153235A1

BALL JOINT

1шт.

150535A1

SPRING

Incl. 17 - 23

1шт.

17

150453A1

COLLAR CLAMP

2шт.

18

150537A1

TUBE

1шт.

19

150540A1

BOLT,Hex, M6 x 95mm, Spcl

1шт.

20

150543A1

SPRING

1шт.

21

829-1406

NUT,Hex, M6 x 1, Cl 10.9

2шт.

22

895-11006

WASHER,6.6mm ID x 12mm OD x 1.6mm Thk

1шт.

23

800-2122

SNAP RING,M22, Internal

1шт.

24

157155A1

BALL JOINT

1шт.

25

892-11006

LOCK WASHER,M6

1шт.

26

829-1406

NUT,Hex, M6 x 1, Cl 10.9

2шт.

27

KHH0455

CABLE

1шт.

28

157155A1

BALL JOINT

2шт.

29

892-11006

LOCK WASHER,M6

2шт.

30

829-1406

NUT,Hex, M6 x 1, Cl 10.9

2шт.

31

164624A1

LEVER

1шт.

32

159906A1

BOLT,Sems, Hex, M6 x 20mm, Spcl

2шт.

33

156462A1

COLLAR

1шт.

34

159602A1

BOLT,Sems, Hex, M6 x 16mm

1шт.

35

KNH0854

COVER

1шт.

37

165810A1

COVER

1шт.

38

627-10020

BOLT,Hex, M10 x 1.5 x 20mm, Cl 10.9, Full Thd

6шт.

39

895-11010

WASHER,11mm ID x 20mm OD x 2mm Thk

6шт.

40

627-10035

BOLT,Hex, M10 x 1.5 x 35mm, Cl 10.9, Full Thd

1шт.

41

895-11010

WASHER,11mm ID x 20mm OD x 2mm Thk

1шт.

Выбрано товаров: 42