Запчасти Case CX130 (08-003) - PUMP COUPLING - MODELS WITHOUT DOZER BLADE (DAC0713099 - DAC0713245) (08) - HYDRAULICS

Схема запчастей Case CX130 - (08-003) - PUMP COUPLING - MODELS WITHOUT DOZER BLADE (DAC0713099 - DAC0713245) (08) - HYDRAULICS
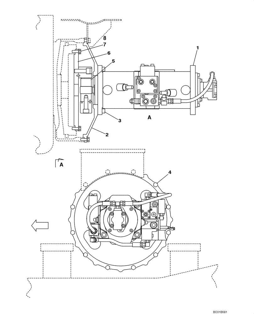
8
5
4
2
7
1
3
6
FIT
1:1
100%

Артикул

Название

Примечание

Количество

1

KNJ3000

PUMP, HYDRAULIC

See Figures 08-122 - 08-131

1шт.

1

87341952

REMAN-HYD PUMP

Reman For New P/N KNJ3000

1шт.

1

87341953

CORE-HYDRAULIC PUMP

Return Number

1шт.

2

KNJ2999

FLANGE

1шт.

3

862-12035

HEX SOC SCREW,M12 x 35mm, Cl 12.9

4шт.

896-11010

WASHER,11mm ID x 21mm OD x 2.5mm Thk

9шт.

5

KNJ2558

COUPLING

1шт.

6

KNJ2873

FLANGE

Driven

1шт.

7

165057A1

BOLT,Hex, 3/8" - 16 x 28.50mm

8шт.

8

150409A1

WASHER

10,5 x 21 x 3,2 mm

8шт.

4

627-10030

BOLT,Hex, M10 x 1.5 x 30mm, Cl 10.9, Full Thd

9шт.

Выбрано товаров: 11