Качественные детали и логистика
Оригинальные и аналоговые запчасти с доставкой по России, Казахстану и Беларуси
©2022 PartSell ООО "Система" ИНН 2463123282 ОГРН 1212400004838
Центральный офис: г. Красноярск, Академика Киренского, д.87, пом.4
Телефон: 8 (800) 777-65-74 Email: zakaz@partsell.ru
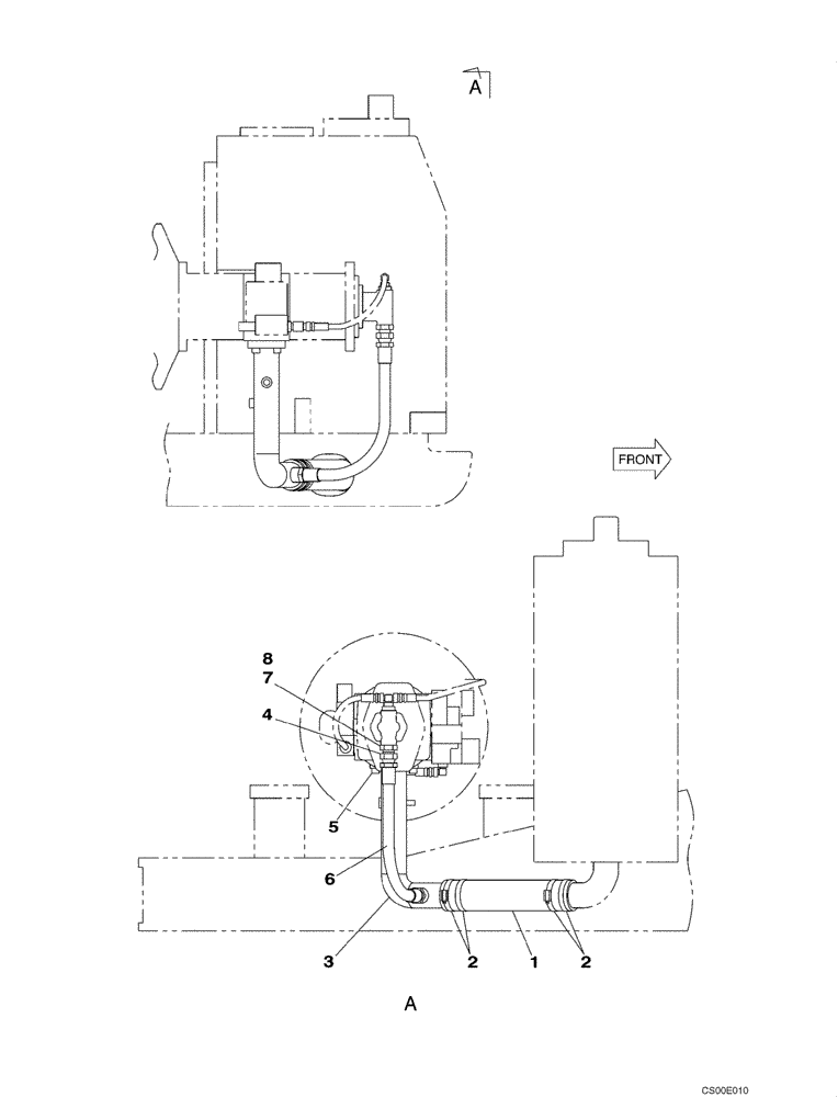
(08-007) - HYDRAULICS - PUMP SUCTION LINE (DAC0713099 - DAC0713245)
№
Артикул
Название
Примечание
Количество
1
KHJ1935
HOSE
1шт.
2
152796A1
COLLAR
4шт.
3
KNJ2889
HYD TUBE
4
154681A1
O-RING
5
862-12035
HEX SOC SCREW,M12 x 35mm, Cl 12.9
6
160715A1
HYDRAULIC HOSE
Incl. 154503A1
154503A1
7
151654A1
HYD CONNECTOR,3/4" NPT O-Ring x 3/4" NPT
Incl. 8
8
Выбрано товаров: 0