Запчасти Case CX130 (08-009) - HYDRAULICS - PUMP SUCTION LINE (DAC0713099 - DAC0713245) (08) - HYDRAULICS

Схема запчастей Case CX130 - (08-009) - HYDRAULICS - PUMP SUCTION LINE (DAC0713099 - DAC0713245) (08) - HYDRAULICS
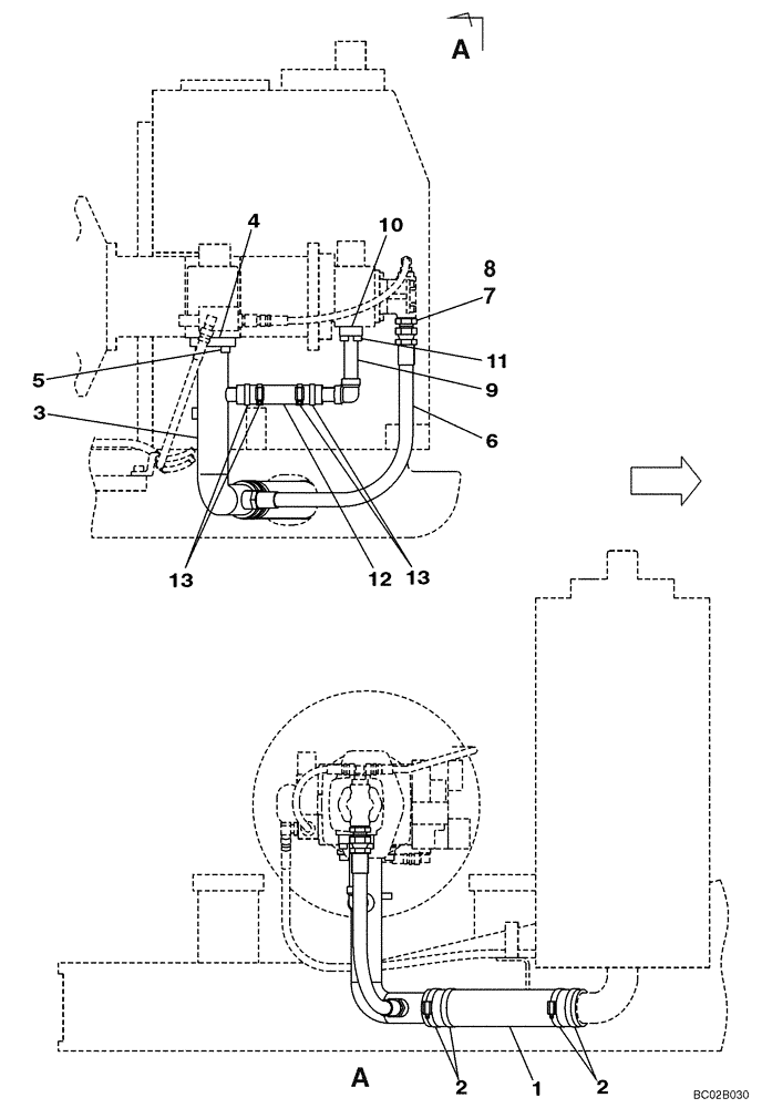
4
2
9
8
6
5
1
13
10
11
2
13
3
12
7
FIT
1:1
100%

Артикул

Название

Примечание

Количество

Models With Dozer Blade

1шт.

1

KHJ1935

HOSE

1шт.

2

152796A1

COLLAR

4шт.

3

KNJ3005

HYD TUBE

1шт.

4

154681A1

O-RING

1шт.

5

862-12035

HEX SOC SCREW,M12 x 35mm, Cl 12.9

4шт.

6

KNJ3006

HOSE

1шт.

7

151654A1

HYD CONNECTOR,3/4" NPT O-Ring x 3/4" NPT

Incl. 8

1шт.

8

154503A1

O-RING

1шт.

9

KNJ2970

TUBE ASSY.

1шт.

10

154548A1

O-RING

1шт.

11

862-10030

HEX SOC SCREW,M10 x 30mm, Cl 12.9

4шт.

12

152584A1

HOSE,27.00 mm ID x 170.00 mm

1шт.

13

158885A1

COLLAR

4шт.

Выбрано товаров: 14