Запчасти Case CX130 (08-012) - HYDRAULICS - CONTROL VALVE SUPPLY (DAC0713246 - ) (08) - HYDRAULICS

Схема запчастей Case CX130 - (08-012) - HYDRAULICS - CONTROL VALVE SUPPLY (DAC0713246 - ) (08) - HYDRAULICS
10
23
13
19
8
14
11
24
20
22
12
8
25
17
18
3
2
9
1
6
16
21
7
4
15
5
FIT
1:1
100%

Артикул

Название

Примечание

Количество

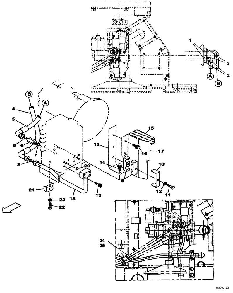
1

155210A1

O-RING

2шт.

2

152598A1

HALF-COLLAR

Split

4шт.

3

862-10030

HEX SOC SCREW,M10 x 30mm, Cl 12.9

8шт.

4

KNJ3062

HYDRAULIC HOSE,15.90 mm ID x 840.00 mm

1шт.

5

KNJ3063

HYDRAULIC HOSE,15.90 mm ID x 750.00 mm

1шт.

6

KHJ1495

ADAPTER

Incl. 7

1шт.

7

154503A1

O-RING

1шт.

8

KHJ1360

O-RING,0.07" Thk x 0.739" ID

2шт.

9

KNJ2534

CLAMP

Hose

2шт.

10

KNJ2510

BRACKET

1шт.

11

827-12085

BOLT,Hex, M12 x 1.75 x 85mm, Cl 10.9

1шт.

12

150811A1

WASHER

M12

1шт.

13

KNJ2509

BRACKET

1шт.

14

152718A1

BOLT,Spcl, Hex Wshr, M12 x 25mm, Cl 10.9

2шт.

15

KNJ2882

FOAM INSULATION

1шт.

16

152718A1

BOLT,Spcl, Hex Wshr, M12 x 25mm, Cl 10.9

2шт.

17

KNJ3042

COVER

1шт.

18

KNJ2777

TUBE ASSY.,20.8 mm ID x 27.2 mm OD

1шт.

19

862-10045

HEX SOC SCREW,M10 x 45mm, Cl 12.9

4шт.

20

154528A1

O-RING

1шт.

21

151486A1

CLAMP BRACKET

1шт.

22

827-12055

BOLT,Hex, M12 x 1.75 x 55mm, Cl 10.9

1шт.

23

150811A1

WASHER

M12

1шт.

24

KHJ2022

HOSE CLAMP

1-2шт.

25

150496A1

MOUNTING CLIP

2-4шт.

Выбрано товаров: 25