Запчасти Case CX130 (08-013) - HYDRAULICS - RESERVOIR RETURN (08) - HYDRAULICS

Схема запчастей Case CX130 - (08-013) - HYDRAULICS - RESERVOIR RETURN (08) - HYDRAULICS
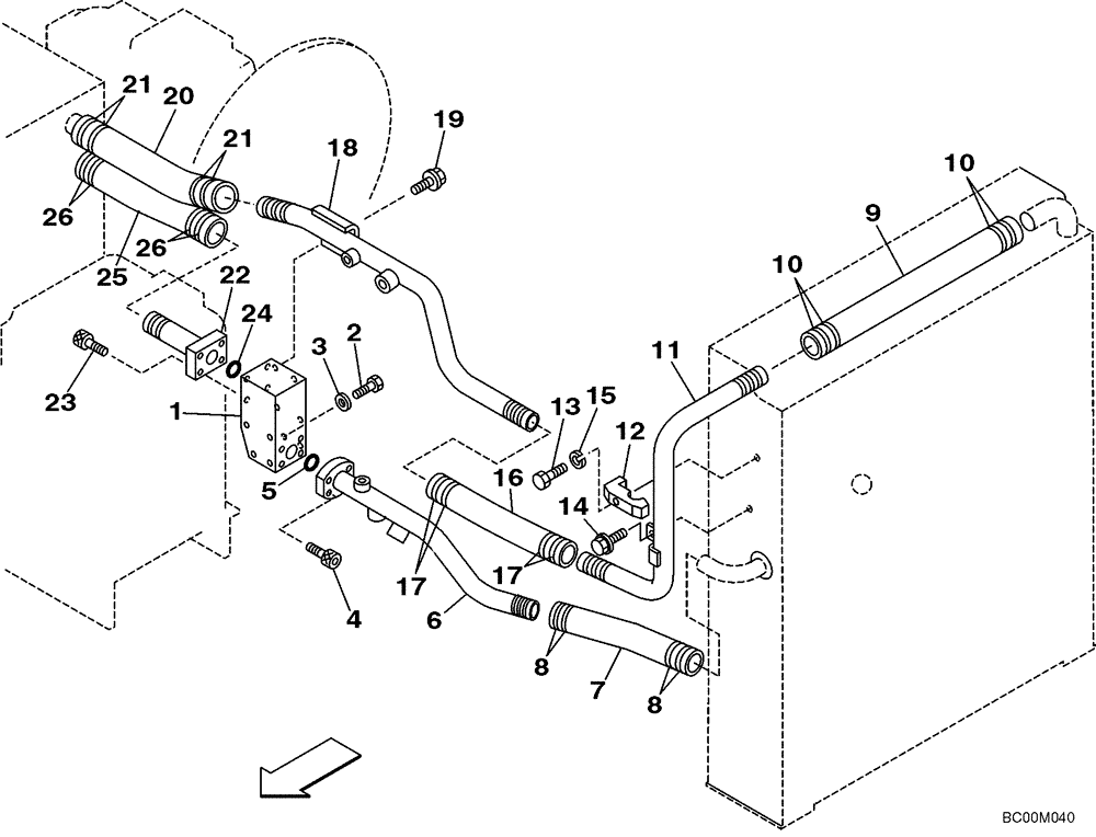
22
2
5
4
10
26
12
11
17
23
13
6
8
26
18
9
10
3
21
25
7
19
14
16
8
20
17
21
24
15
1
FIT
1:1
100%

Артикул

Название

Примечание

Количество

1

KNJ14270

MANIFOLD VALVE

Replaces KNJ2720

1шт.

2

627-10085

BOLT,Hex, M10 x 1.5 x 85mm, Cl 10.9, Full Thd

4шт.

3

150409A1

WASHER

10,5 x 21 x 3,2 mm

4шт.

4

862-10030

HEX SOC SCREW,M10 x 30mm, Cl 12.9

4шт.

5

154528A1

O-RING

1шт.

6

KNJ2989

HYD TUBE,20.8 mm ID x 27.2 mm OD

1шт.

7

157461A1

HOSE,27.00 mm ID x 370.00 mm

Replaces KAJ1454

1шт.

8

158885A1

COLLAR

4шт.

9

150820A1

HYDRAULIC HOSE,34.00 mm ID x 500.00 mm

1шт.

10

150885A1

COLLAR

4шт.

11

KNJ2975

HYD TUBE,27.6 mm ID x 34 mm OD

1шт.

12

152974A1

COLLAR

2шт.

13

827-12055

BOLT,Hex, M12 x 1.75 x 55mm, Cl 10.9

1шт.

14

152718A1

BOLT,Spcl, Hex Wshr, M12 x 25mm, Cl 10.9

1шт.

15

150811A1

WASHER

M12

2шт.

16

KNJ0259

HOSE,34 mm ID x 305.00 mm

1шт.

17

150885A1

COLLAR

4шт.

18

KNJ2990

HYD TUBE,27.6 mm ID x 34 mm OD

1шт.

19

627-10020

BOLT,Hex, M10 x 1.5 x 20mm, Cl 10.9, Full Thd

2шт.

896-11010

WASHER,11mm ID x 21mm OD x 2.5mm Thk

2шт.

20

KNJ0259

HOSE,34 mm ID x 305.00 mm

1шт.

21

150885A1

COLLAR

4шт.

22

KNJ2722

TUBE ASSY.,27.6 mm ID x 34 mm OD

1шт.

23

862-10025

HEX SOC SCREW,M10 x 25mm, Cl 12.9

4шт.

24

154569A1

O-RING

1шт.

25

KNJ0259

HOSE,34 mm ID x 305.00 mm

1шт.

26

150885A1

COLLAR

4шт.

Выбрано товаров: 27