Запчасти Case CX130 (08-019) - HYDRAULICS - DRAIN LINE - MODELS WITH LOAD HOLD (DAC0713099 - DAC0713245) (08) - HYDRAULICS

Схема запчастей Case CX130 - (08-019) - HYDRAULICS - DRAIN LINE - MODELS WITH LOAD HOLD (DAC0713099 - DAC0713245) (08) - HYDRAULICS
10
2
13
22
2
12
21
17
18
5
3
19
9
22
3
6
4
16
7
15
16
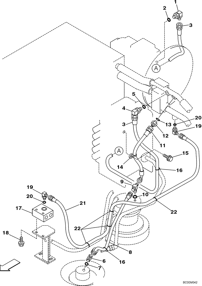
0
8
14
11
20
1
FIT
1:1
100%

Артикул

Название

Примечание

Количество

Models With Load Hold

1шт.

1

150916A1

ELBOW,90 Degree, 3/8" O-Ring x 3/8"

Incl. 2

1шт.

2

154475A1

O-RING

1шт.

3

159077A1

PIN

1шт.

4

150916A1

ELBOW,90 Degree, 3/8" O-Ring x 3/8"

Incl. 5

1шт.

5

154475A1

O-RING

1шт.

6

157585A1

ELBOW

Incl. 7

1шт.

7

154487A1

O-RING

1шт.

8

80055A12Z075

HYDRAULIC HOSE

Replaces UHJ0132

1шт.

9

KHJ1157

TEE

Incl. 10

1шт.

10

154475A1

O-RING

1шт.

11

KNJ2767

HYDRAULIC HOSE,520.00 mm

1шт.

12

151650A1

HYD CONNECTOR,1/2" NPT O-Ring x 1/2" NPT

Incl. 13

1шт.

13

154487A1

O-RING

1шт.

14

KHR2583

CLAMP

1шт.

15

159906A1

BOLT,Sems, Hex, M6 x 20mm, Spcl

1шт.

16

150071A1

MOUNTING CLIP

1шт.

17

KNJ2868

MANIFOLD VALVE

1шт.

18

627-10020

BOLT,Hex, M10 x 1.5 x 20mm, Cl 10.9, Full Thd

2шт.

896-11010

WASHER,11mm ID x 21mm OD x 2.5mm Thk

2шт.

19

150919A1

ELBOW,90 Degree, 1/2" O-Ring x 1/2"

Incl. 20

2шт.

20

154487A1

O-RING

1шт.

21

KNJ2836

HYDRAULIC HOSE,12.70 mm ID x 1600.00 mm

1шт.

22

150071A1

MOUNTING CLIP

4шт.

Выбрано товаров: 24