Запчасти Case CX130 (08-024) - HYDRAULICS - BOOM (08) - HYDRAULICS

Схема запчастей Case CX130 - (08-024) - HYDRAULICS - BOOM (08) - HYDRAULICS
15
3
14
13
10
17
1
11
4
9
2
3
20
8
18
19
7
6
22
16
20
16
6
5
16
20
21
12
FIT
1:1
100%

Артикул

Название

Примечание

Количество

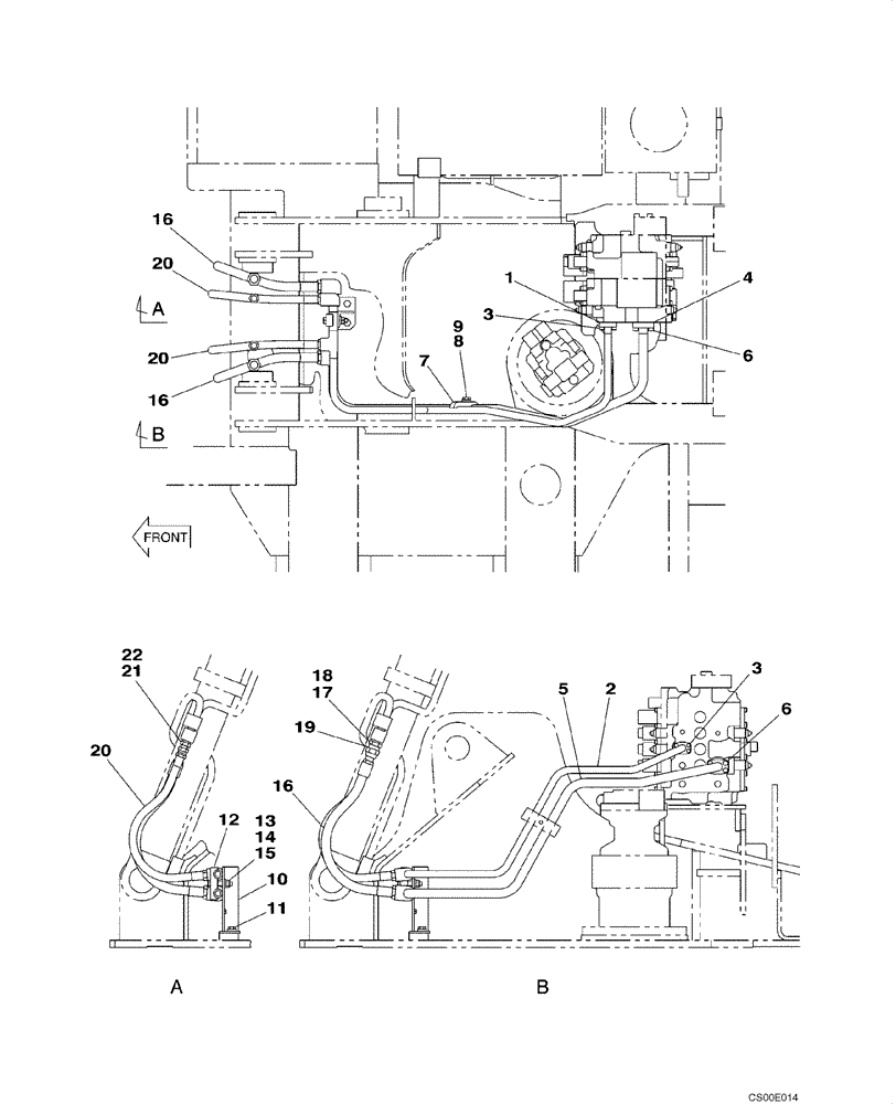
1

154499A1

O-RING

1шт.

2

KNJ2515

TUBE ASSY.

1шт.

3

862-8030

HEX SOC SCREW,M8 x 30mm, Cl 12.9

4шт.

4

154528A1

O-RING

1шт.

5

KNJ2514

TUBE ASSY.

1шт.

6

862-10065

HEX SOC SCREW,M10 x 65mm, Cl 12.9

4шт.

7

KNJ2519

CLAMP

1шт.

8

827-12055

BOLT,Hex, M12 x 1.75 x 55mm, Cl 10.9

1шт.

9

150811A1

WASHER

M12

1шт.

10

KNJ2837

BRACKET

1шт.

11

152718A1

BOLT,Spcl, Hex Wshr, M12 x 25mm, Cl 10.9

2шт.

12

152085A1

COLLAR

1шт.

13

827-12065

BOLT,Hex, M12 x 1.75 x 65mm, Cl 10.9

1шт.

14

829-1412

NUT,M12, Cl 10.9

1шт.

15

150811A1

WASHER

M12

1шт.

16

KNJ2634

HYDRAULIC HOSE,650.00 mm

2шт.

17

KHJ1765

ADAPTER

Incl. 18

2шт.

18

154487A1

O-RING

1шт.

19

KHJ1360

O-RING,0.07" Thk x 0.739" ID

2шт.

20

KNJ2513

HYDRAULIC HOSE,12.70 mm ID x 650.00 mm

2шт.

21

151650A1

HYD CONNECTOR,1/2" NPT O-Ring x 1/2" NPT

Incl. 22

2шт.

22

154487A1

O-RING

1шт.

23

REF

INSTRUCTION

Cylinder Assy, Models Without Load Hold, See Figure 08-102, 08-103, For Mounting, See Figure 09-41, Not Illustrated

2шт.

24

REF

INSTRUCTION

Cylinder Assy, Models With Load Hold, See Figure 08-104, 08-105, For Mounting, See Figure 09-41, Not Illustrated

2шт.

Выбрано товаров: 24