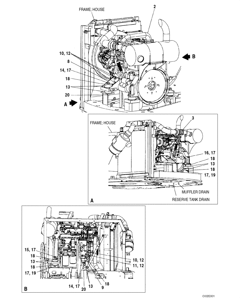
Запчасти Case CX135SR (02-01) - ENGINE MOUNTING (02) - ENGINE

Схема запчастей Case CX135SR - (02-01) - ENGINE MOUNTING (02) - ENGINE
9
18
15
20
17
8
12
20
13
18
13
17
17
2
18
17
14
10
18
13
18
19
10
17
16
18
12
14
19
17
12
3
11
13
FIT
1:1
100%

Артикул

Название

Примечание

Количество

2

KMH0865

ENGINE

Replaces KMH0805, See Figure 02-08 - 02-28, 03-05 - 03-10, 04-13 - 04-16

1шт.

2

KMH0865EC

CORE-ENGINE

Environmental Core, For N.A. Only

1шт.

3

167913A1

GASKET

1шт.

8

KRH1341

ENGINE MOUNT

1шт.

9

KMH0819

ENGINE MOUNT

1шт.

10

159657A1

BOLT,High Strength, M10

M10 x 20; 10.9

7шт.

11

153604A1

NUT

1шт.

12

150409A1

WASHER

10,5 x 21 x 3,2 mm

8шт.

13

KRH1226

SILENTBLOC

8шт.

14

827-16140

BOLT,Hex, M16 x 2 x 140mm, Cl 10.9

2шт.

15

627-16171

BOLT,Hex, M16 x 2 x 170mm, Cl 10.9

1шт.

16

627-16260

BOLT,Hex, M16 x 2 x 260mm, Cl 10.9, Full Thd

1шт.

17

150814A1

WASHER,17mm ID x 32mm OD x 4.5mm Thk

17 x 32 x 4,5 mm

6шт.

18

KRH1256

PLATE

6шт.

19

829-1416

NUT,M16, Cl 10

2шт.

20

KRH1251

SPECIAL NUT

M16

2шт.

Выбрано товаров: 16