Запчасти Case CX135SR (08-046) - PILOT CONTROL LINES - MODELS WITH CONTROL SELECTOR VALVE (08) - HYDRAULICS

Схема запчастей Case CX135SR - (08-046) - PILOT CONTROL LINES - MODELS WITH CONTROL SELECTOR VALVE (08) - HYDRAULICS
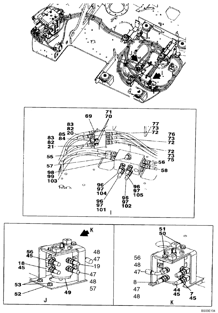
18
50
21
47
56
97
45
7
83
55
82
69
96
72
45
72
85
84
96
47
57
48
83
44
52
72
45
47
45
97
77
8
103
58
71
47
105
97
73
96
49
48
56
99
82
76
98
73
56
102
48
104
19
53
75
101
96
51
70
48
57
72
97
20
FIT
1:1
100%

Артикул

Название

Примечание

Количество

7

KHJ2387

HOSE

1550 mm (61 in); See Figure 08-43

1шт.

8

KHJ2387

HOSE

1550 mm (61 in); See Figure 08-43

1шт.

18

KHJ2213

HOSE

1480 mm (58-3/8 in); See Figure 08-43

1шт.

19

KHJ2213

HOSE

1480 mm (58-3/8 in); See Figure 08-43

1шт.

20

KHJ2391

HOSE

1500 mm (59-1/8 in); See Figure 08-43

1шт.

21

KHJ2387

HOSE

1550 mm (61 in); See Figure 08-43

1шт.

45

153559A1

ELBOW

Incl. 46

4шт.

46

154467A1

O-RING,10.8mm ID x 2.4mm Width

1шт.

47

152747A1

ADAPTER

Incl. 48

4шт.

48

154467A1

O-RING,10.8mm ID x 2.4mm Width

1шт.

49

KHJ2184

VALVE

Selector; See Figure 08-96

1шт.

50

167836A1

BOLT,High Strength, M10 x 25mm

2шт.

51

150409A1

WASHER

2шт.

52

KMJ2985

BRACKET

1шт.

53

166052A1

BOLT

2шт.

55

KHJ2323

HOSE

1шт.

56

KHJ2416

HOSE

1480 mm (58-3/8 in)

1шт.

57

KHJ2438

HOSE

1650 mm (65 in)

1шт.

58

KHJ2439

HOSE

1500 mm (59-1/8 in)

1шт.

69

KHJ17110

VALVE

Shuttle; Replaces KHJ1580

1шт.

70

827-8045

BOLT,Hex, M8 x 1.25 x 45mm, Cl 10.9

2шт.

71

153081A1

WASHER

2шт.

72

152127A1

HYD CONNECTOR,1/4" NPT O-Ring x 1/4" NPT

Incl. 72

3шт.

73

154467A1

O-RING,10.8mm ID x 2.4mm Width

1шт.

75

KHJ2074

HOSE

See Figure 08-45

1шт.

76

KHJ2075

HOSE

See Figure 08-45

1шт.

77

KHJ2074

HOSE

See Figure 08-45

1шт.

82

152747A1

ADAPTER

Incl. 82

2шт.

83

154467A1

O-RING,10.8mm ID x 2.4mm Width

1шт.

84

153412A1

SOCKET

Incl. 84

1шт.

85

154467A1

O-RING,10.8mm ID x 2.4mm Width

1шт.

96

152128A1

HYD CONNECTOR,3/8" NPT O-Ring x 3/8" NPT

Incl. 96

4шт.

97

154475A1

O-RING

1шт.

98

KHJ2136

ADAPTER

Incl. 98

1шт.

99

154467A1

O-RING,10.8mm ID x 2.4mm Width

1шт.

101

KHJ2145

HOSE

3200 mm (128 in); See Figure 08-44

1шт.

102

KHJ2102

HOSE

2700 mm (106-3/8 in); See Figure 08-45

1шт.

103

KHJ2344

HOSE

2500 mm (98-1/2 in); See Figure 08-45

1шт.

104

KHJ2349

HOSE

2550 mm (100-1/2 in); See Figure 08-45

1шт.

105

KHJ2145

HOSE

3200 mm (128 in); See Figure 08-44

1шт.

Выбрано товаров: 40