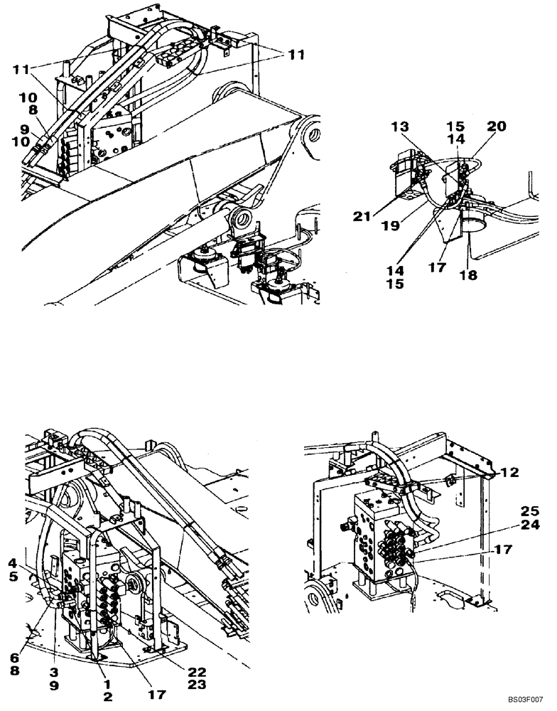
Запчасти Case CX135SR (08-055) - HYDRAULICS, AUXILIARY - DOUBLE ACTING CIRCUIT (08) - HYDRAULICS

Схема запчастей Case CX135SR - (08-055) - HYDRAULICS, AUXILIARY - DOUBLE ACTING CIRCUIT (08) - HYDRAULICS
22
14
17
25
11
8
12
15
21
24
19
14
9
13
3
10
11
17
8
17
15
18
2
6
4
1
10
5
20
9
23
FIT
1:1
100%

Артикул

Название

Примечание

Количество

1

KHJ1495

ADAPTER

Incl. 2

1шт.

2

154503A1

O-RING

1шт.

3

KHJ1360

O-RING,0.07" Thk x 0.739" ID

1шт.

4

KHJ1348

ADAPTER

Incl. 5

1шт.

5

154503A1

O-RING

1шт.

6

KHJ1360

O-RING,0.07" Thk x 0.739" ID

1шт.

8

KMJ2873

HOSE ASSY.,19.00 mm ID x 2400.00 mm

1шт.

9

KMJ2874

HOSE ASSY.,19.00 mm ID x 2350.00 mm

1шт.

10

KHJ1360

O-RING,0.07" Thk x 0.739" ID

2шт.

11

150498A1

MOUNTING CLIP

1шт.

12

KHJ2023

HOSE CLAMP

2шт.

13

161841A1

HYD CONNECTOR

1шт.

14

152127A1

HYD CONNECTOR,1/4" NPT O-Ring x 1/4" NPT

Incl. 15

3шт.

15

154467A1

O-RING,10.8mm ID x 2.4mm Width

1шт.

17

KHJ2341

HOSE

1шт.

18

KHJ2340

HOSE

1шт.

19

KHJ2238

HOSE

1шт.

20

KHJ2179

HOSE

1шт.

21

KHJ2130

TEE

2шт.

22

150913A1

ELBOW,90 Degree, 1/4" O-Ring x 1/4"

Incl. 23

1шт.

23

154467A1

O-RING,10.8mm ID x 2.4mm Width

1шт.

24

150933A1

ELBOW

Incl. 25

1шт.

25

154467A1

O-RING,10.8mm ID x 2.4mm Width

1шт.

Выбрано товаров: 23