Качественные детали и логистика
Оригинальные и аналоговые запчасти с доставкой по России, Казахстану и Беларуси
©2022 PartSell ООО "Система" ИНН 2463123282 ОГРН 1212400004838
Центральный офис: г. Красноярск, Академика Киренского, д.87, пом.4
Телефон: 8 (800) 777-65-74 Email: zakaz@partsell.ru
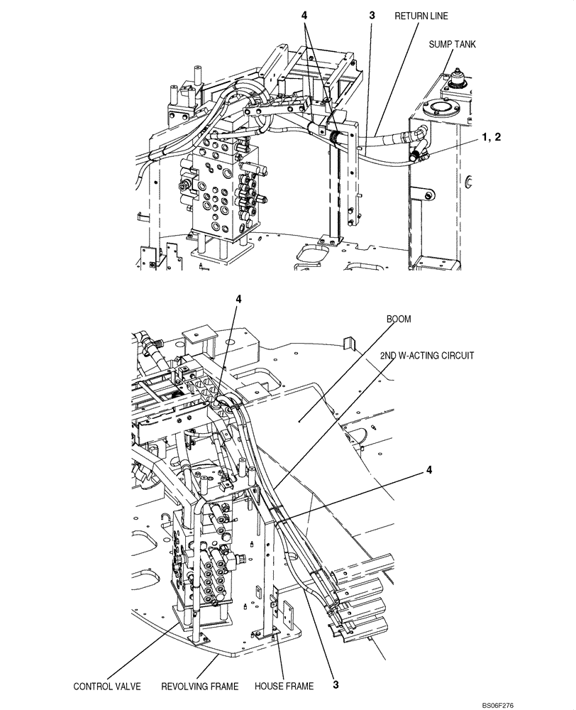
(08-056A) - HYDRAULICS, AUXILIARY - SECOND OPTION LINE - WITH DOZER BLADE
№
Артикул
Название
Примечание
Количество
1
150916A1
ELBOW,90 Degree, 3/8" O-Ring x 3/8"
Incl. 2
1шт.
2
154475A1
O-RING
3
KMJ2885
HOSE ASSY.,9.50 mm ID x 2400.00 mm
4
150498A1
MOUNTING CLIP
300mm
Выбрано товаров: 0