Запчасти Case CX135SR (02-05) - RADIATOR AND CONNECTIONS (02) - ENGINE

Схема запчастей Case CX135SR - (02-05) - RADIATOR AND CONNECTIONS (02) - ENGINE
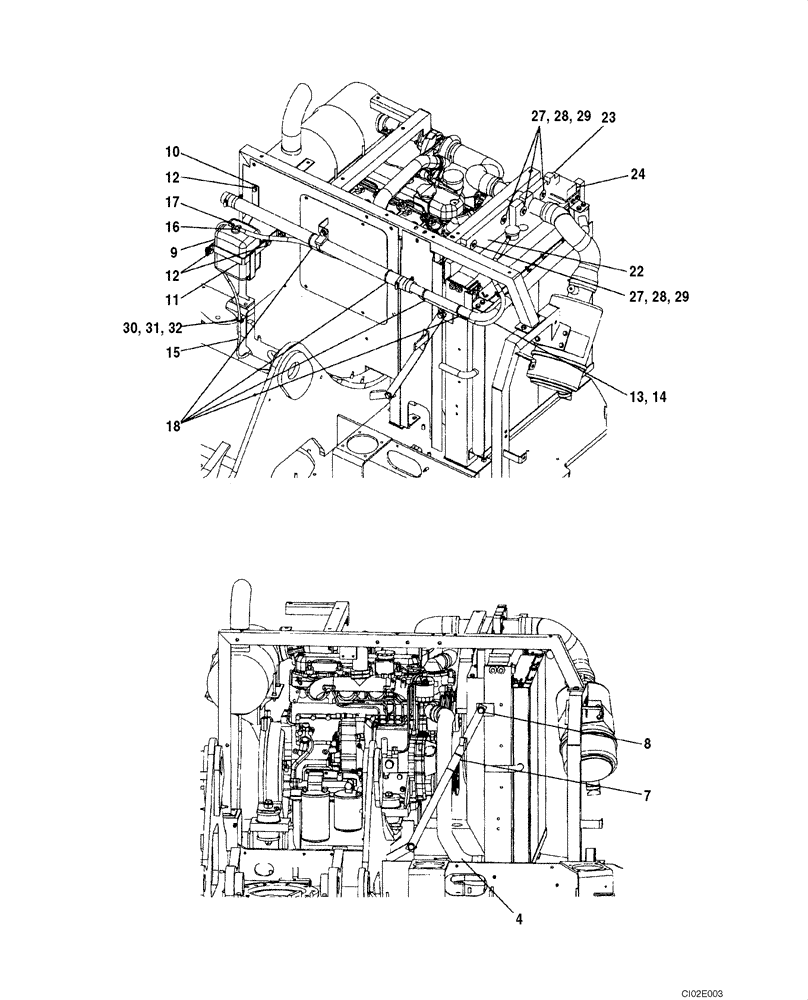
8
17
12
18
11
13
28
4
16
27
15
22
28
31
23
29
29
12
32
9
14
27
24
10
7
30
FIT
1:1
100%

Артикул

Название

Примечание

Количество

4

KMH0788

RADIATOR HOSE

1шт.

7

KMH0791

SUPPORT

1шт.

8

152718A1

BOLT,Spcl, Hex Wshr, M12 x 25mm, Cl 10.9

2шт.

9

KHH0260

TANK

1шт.

10

KMH0811

HOLDER

1шт.

11

KMH0812

HOLDER

1шт.

12

166351A1

BOLT,Sems, M10 x 20mm

5шт.

13

150740A1

HOSE

1шт.

14

157138A1

PLASTIC-RUBBER TUBE,13 mm ID, 17.5 mm OD, 1600 mm Length

1шт.

15

157486A1

HOSE

1200mm (47-1/4 in)

1шт.

16

165951A1

CLAMP

2шт.

17

165952A1

MOUNTING CLIP

1шт.

18

150496A1

MOUNTING CLIP

4шт.

22

KMH0814

SEAL

1шт.

23

KMH0815

SEAL

1шт.

24

KMH0821

SEAL

1шт.

27

KHH0358

RETAINER

4шт.

28

627-8040

BOLT,Hex, M8 x 1.25 x 40mm, Cl 10.9, Full Thd

4шт.

29

895-11008

WASHER,9mm ID x 16mm OD x 1.6mm Thk

4шт.

30

150860A1

COLLAR

1шт.

31

840-1625

SCREW,Pan, M6 x 25mm, Cl 4.8

1шт.

32

150496A1

MOUNTING CLIP

1шт.

Выбрано товаров: 22