Запчасти Case CX135SR (08-065) - KMJ2937 PUMP ASSY, HYDRAULIC - GEAR PUMP DRIVE, MODELS WITH DOZER BLADE (08) - HYDRAULICS

Схема запчастей Case CX135SR - (08-065) - KMJ2937 PUMP ASSY, HYDRAULIC - GEAR PUMP DRIVE, MODELS WITH DOZER BLADE (08) - HYDRAULICS
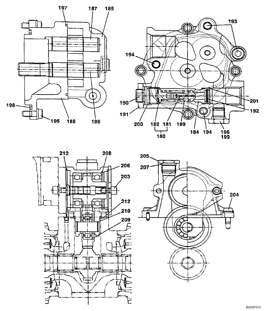
182
187
193
208
199
194
206
200
201
181
196
205
194
212
198
209
195
192
186
189
184
204
188
210
212
180
203
191
207
197
190
185
FIT
1:1
100%

Артикул

Название

Примечание

Количество

KMJ2937

HYDRAULIC PUMP

Models With Dozer Blade; Includes All Parts on Figure 08-62 - 08-65

1шт.

87341966

REMAN-HYD PUMP

Remanufactured, HYDRAULIC PUMP, For N.A. Only

1шт.

87341969

CORE-HYDRAULIC PUMP

Return Number, For N.A. Only

1шт.

LJ01072

HYDRAULIC PUMP

Gear; Incl. 180 - 201

1шт.

180

LNP0221

VALVE POPPET

Gear; Incl. 181, 182

1шт.

181

NSS

NOT SOLD SEPARAT

Poppet

1шт.

182

NSS

NOT SOLD SEPARAT

Seat

1шт.

LC00229

GEAR

Incl. 184 - 188

1шт.

184

NSS

NOT SOLD SEPARAT

Seat

1шт.

185

NSS

NOT SOLD SEPARAT

Housing, Gear

1шт.

186

NSS

NOT SOLD SEPARAT

Gear

4шт.

187

NSS

NOT SOLD SEPARAT

Gear

1шт.

188

NSS

NOT SOLD SEPARAT

Housing

2шт.

189

160593A1

SPRING

1шт.

190

LV00027

SCREW,Spcl

1шт.

191

163662A1

LOCK NUT

1шт.

192

163663A1

FILTER

4шт.

193

163664A1

FLANGE BOLT,Hex Skt, M8 x 50mm

1шт.

194

163665A1

FLANGE BOLT,Hex Skt, M8 x 60mm

1шт.

195

LA00872

BOLT,Spcl

1шт.

196

155496A1

PLUG

1шт.

197

163667A1

SEALING RING

2шт.

198

154697A1

O-RING

4шт.

199

154467A1

O-RING,10.8mm ID x 2.4mm Width

2шт.

200

154483A1

O-RING

1шт.

201

163668A1

RING, LOCKING

RING, LOCK

1шт.

KMJ2983

REPAIR KIT

Incl. 203 - 210

1шт.

203

863-10020

HEX SOC SCREW,M10 x 20mm, Cl 12.9

2шт.

204

LA00691

BOLT,Hex Skt Hd

4шт.

205

155471A1

PLUG

1шт.

206

154689A1

O-RING

1шт.

207

154503A1

O-RING

1шт.

208

800-2172

SNAP RING

1шт.

209

800-2152

SNAP RING,M52, Int

1шт.

210

800-2120

SNAP RING,M20, Int

1шт.

Выбрано товаров: 35