Запчасти Case CX135SR (08-069) - MOTOR ASSY - SWING (08) - HYDRAULICS

Схема запчастей Case CX135SR - (08-069) - MOTOR ASSY - SWING (08) - HYDRAULICS
73
92
69
85
89
75
76
93
78
71
67
81
84
70
78
88
74
72
66
94
76
65
68
82
77
79
77
73
90
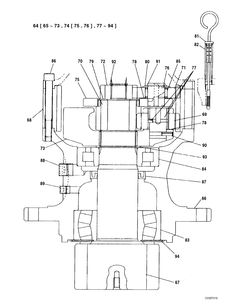
64
91
75
94
87
80
83
86
FIT
1:1
100%

Артикул

Название

Примечание

Количество

KMC0093

MOTO-REDUCTION GEAR

Incl. 65 - 94, Also Includes Parts on Figure 08-67, 08-68

1шт.

65

NSS

NOT SOLD SEPARAT

Reduction Gear, Incl. 66 - 94

1шт.

66

LW00368

HOUSING

1шт.

67

LB00745

DRIVE SHAFT

1шт.

68

LDM0220

RING GEAR

1шт.

69

LDM0221

PLANETARY GEAR

4шт.

70

LDM0222

SUN GEAR

1шт.

71

LDM0223

PLANETARY GEAR

3шт.

72

LDM0224

SUN GEAR

1шт.

73

LDM0225

FRAME ASSY

1шт.

74

LDM0226

PINION CARRIER

GEAR CARRIER Incl. 75, 76

1шт.

75

NSS

NOT SOLD SEPARAT

Carrier, Pinion

1шт.

76

NSS

NOT SOLD SEPARAT

Pin

3шт.

77

LMM0600

DOWEL

4шт.

78

LMM0601

WASHER

7шт.

79

LUM0191

WASHER

1шт.

80

LMM0602

PLATE

3шт.

81

155671A1

DIPSTICK

1шт.

82

155488A1

PIPE

1шт.

83

LTM0237

ROLLER BEARING

1шт.

84

LTM0238

BEARING, ROLLER, CYL

1шт.

85

LTM0239

ROLLER BEARING

3шт.

86

862-12100

HEX SOC SCREW,M12 x 100mm, Cl 12.9

10шт.

87

LAM0075

OIL SEAL

1шт.

88

155497A1

PLUG

1шт.

89

LLM0108

PLUG

2шт.

90

738-1620

LOCK PIN,6mm OD x 20mm L, Slotted

4шт.

91

370A0300Z

SNAP RING

3шт.

92

800-1125

SNAP RING,M25, Ext

1шт.

93

LA00571

SNAP RING

1шт.

94

LAM0076

SEAL

1шт.

Выбрано товаров: 31