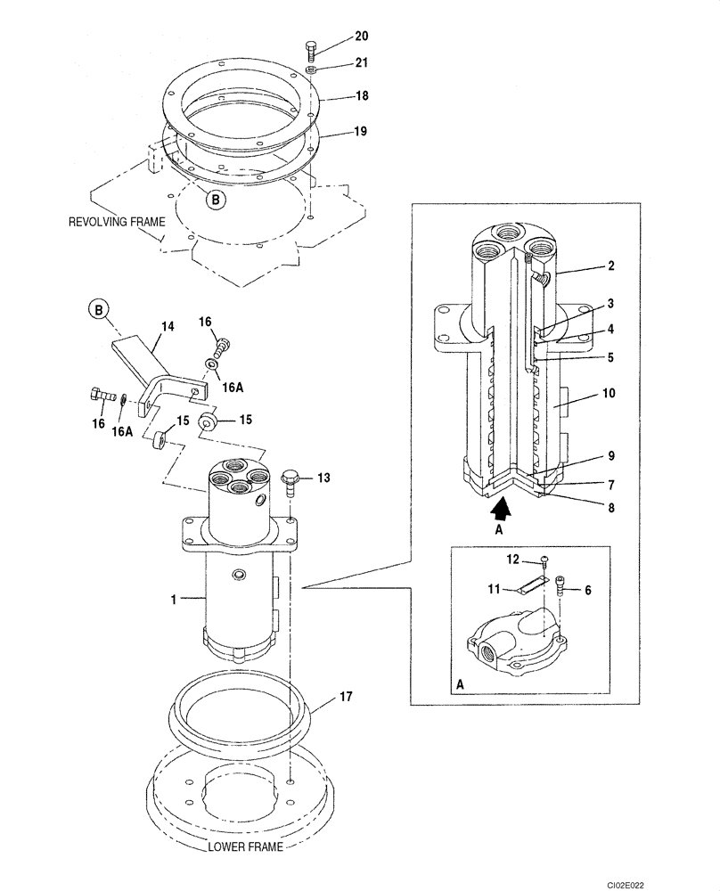
Запчасти Case CX135SR (08-070) - JOINT, SWIVEL CENTER - MODELS WITHOUT DOZER BLADE, P.I.N. DAC0812101 - DAC0812162 (08) - HYDRAULICS

Схема запчастей Case CX135SR - (08-070) - JOINT, SWIVEL CENTER - MODELS WITHOUT DOZER BLADE, P.I.N. DAC0812101 - DAC0812162 (08) - HYDRAULICS
11
16a
3
16a
8
15
4
18
10
14
15
6
19
7
13
1
16
20
21
12
16
9
17
5
2
FIT
1:1
100%

Артикул

Название

Примечание

Количество

1

KMA1325

HYDRAULIC SWIVEL

Incl. 2 - 12

1шт.

2

KMA1294

VALVE BODY

1шт.

3

160682A1

SEALING RING

1шт.

4

154680A1

O-RING

1шт.

5

165486A1

SEALING RING

SEALRING

6шт.

6

864-8020

HEX SOC SCREW,M8 x 20mm, Cl 8.8

8шт.

7

154713A1

O-RING

1шт.

8

KMA1326

COVER

1шт.

9

KMA1295

THRUST PLATE

1шт.

10

KNA0748

ROTOR

1шт.

11

NSS

NOT SOLD SEPARAT

Plate

1шт.

12

NSS

NOT SOLD SEPARAT

Screw

2шт.

13

166352A1

BOLT

4шт.

14

KMA1310

LOCKING BAR

1шт.

15

KMA1316

SPACER

2шт.

16

627-12045

BOLT,Hex, M12 x 1.75 x 45mm, Cl 10.9, Full Thd

2шт.

16a

150811A1

WASHER

2шт.

17

159665A1

SEALING RING

1шт.

18

159666A1

RETAINER

Holder

1шт.

19

159667A1

RUBBER SEAL

1шт.

20

627-12030

BOLT,Hex, M12 x 1.75 x 30mm, Cl 10.9, Full Thd

6шт.

21

161498A1

SEALING WASHER

6шт.

Выбрано товаров: 22