Запчасти Case CX135SR (08-076) - KMJ2633 VALVE ASSY, CONTROL - MODELS WITHOUT DOZER BLADE (08) - HYDRAULICS

Схема запчастей Case CX135SR - (08-076) - KMJ2633 VALVE ASSY, CONTROL - MODELS WITHOUT DOZER BLADE (08) - HYDRAULICS
103
112
104
93
92
110
95
101
111
94
95
94
95
100
96
94
108
95
101
109
94
103
102
105
97
94
96
96
106
95
96
98
105
118
96
119
99
107
106
FIT
1:1
100%

Артикул

Название

Примечание

Количество

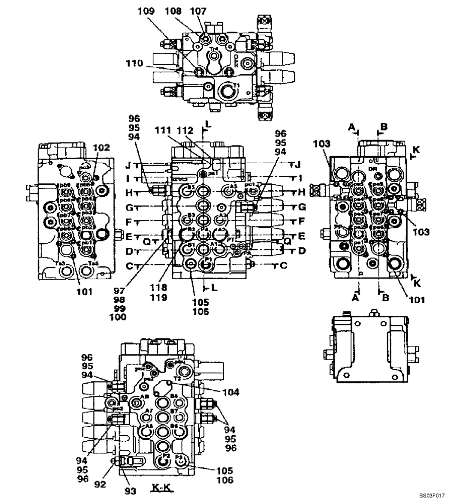
KMJ2633

CONTROL VALVE

Includes Parts On Figure(s) 08-76 - 08-82

1шт.

92

LJ01006

VALVE, PRESSURE RELI

EF Valve

1шт.

93

155223A1

O-RING

1шт.

94

KMJ2914

VALVE PRESSURE RELIE

Incl. 95, 96

6шт.

95

155223A1

O-RING

1шт.

96

154463A1

O-RING

1шт.

97

165839A1

PLUG

Incl. 98 - 100

2шт.

98

155223A1

O-RING

1шт.

99

165778A1

O-RING

1шт.

100

165779A1

RING

1шт.

101

LUC0120

BOLT,Hex Skt Hd

40шт.

102

LUC0118

BOLT,Hex Skt Hd

4шт.

103

108R008Z050N

BOLT

8шт.

104

108R010Z040B

BOLT

2шт.

105

163370A1

PLUG

2шт.

106

154487A1

O-RING

1шт.

107

LB00892

VALVE POPPET

2шт.

108

LUC0095

SPECIAL NUT

2шт.

109

LB00893

VALVE POPPET

2шт.

110

LUC0094

SPECIAL NUT

2шт.

111

NSS

NOT SOLD SEPARAT

Plate

1шт.

112

NSS

NOT SOLD SEPARAT

Screw

4шт.

118

165836A1

PLUG

2шт.

119

154503A1

O-RING

2шт.

Выбрано товаров: 24