Запчасти Case CX135SR (08-080) - KMJ2633 VALVE ASSY, CONTROL - MODELS WITHOUT DOZER BLADE (08) - HYDRAULICS

Схема запчастей Case CX135SR - (08-080) - KMJ2633 VALVE ASSY, CONTROL - MODELS WITHOUT DOZER BLADE (08) - HYDRAULICS
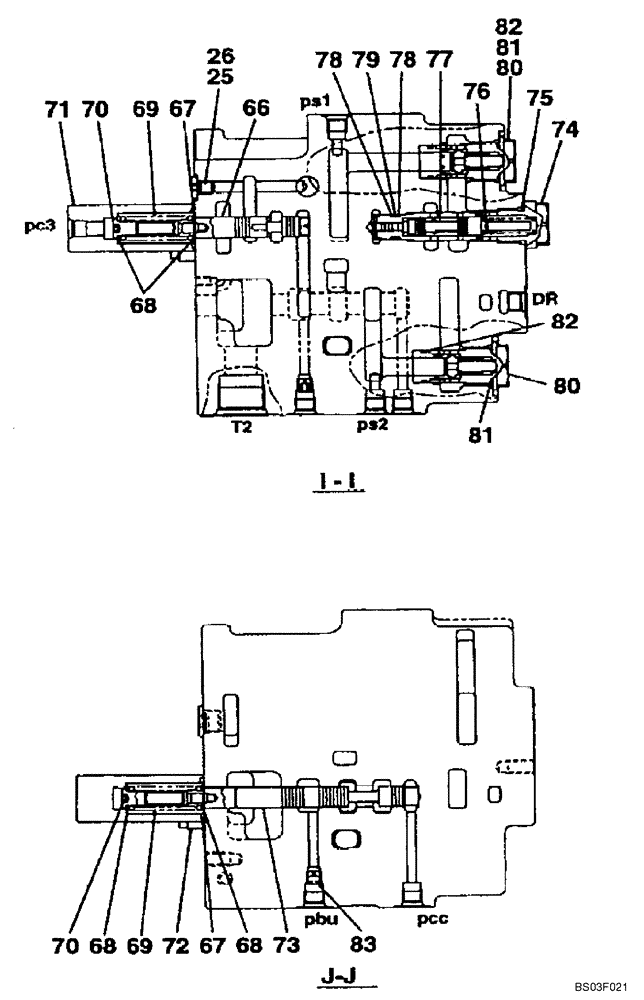
82
78
76
25
78
67
73
80
74
72
68
70
81
69
71
69
70
80
68
77
83
66
67
75
68
81
26
82
79
FIT
1:1
100%

Артикул

Название

Примечание

Количество

KMJ2633

CONTROL VALVE

Includes Parts On Figure(s) 08-76 - 08-82

1шт.

163368A1

PLUG

Incl. 25, 26

1шт.

25

NSS

NOT SOLD SEPARAT

Plug

1шт.

26

154455A1

O-RING

1шт.

43

LJ01098

SPOOL

2шт.

66

NSS

NOT SOLD SEPARAT

Spool

1шт.

67

154514A1

O-RING

2шт.

68

163393A1

SPRING SEAT

4шт.

69

LG00338

SPRING

2шт.

70

LPC0222

END FITTING

2шт.

71

LR00960

CAP

1шт.

72

LR00961

CAP

1шт.

73

NSS

NOT SOLD SEPARAT

Spool

1шт.

74

LK00408

PLUG

1шт.

75

154503A1

O-RING

1шт.

76

LG00448

COMPRESSION SPRING

1шт.

77

NSS

NOT SOLD SEPARAT

Spool

1шт.

78

153967A1

BACK-UP RING

2шт.

79

154483A1

O-RING

1шт.

80

LJ01005

VALVE, PRESSURE RELI

EF Incl. 81, 82

2шт.

81

155224A1

O-RING

1шт.

82

154495A1

O-RING

1шт.

83

LJ00731

ORIFICE

1шт.

Выбрано товаров: 23