Запчасти Case CX135SR (08-081) - KMJ2633 VALVE ASSY, CONTROL - MODELS WITHOUT DOZER BLADE (08) - HYDRAULICS

Схема запчастей Case CX135SR - (08-081) - KMJ2633 VALVE ASSY, CONTROL - MODELS WITHOUT DOZER BLADE (08) - HYDRAULICS
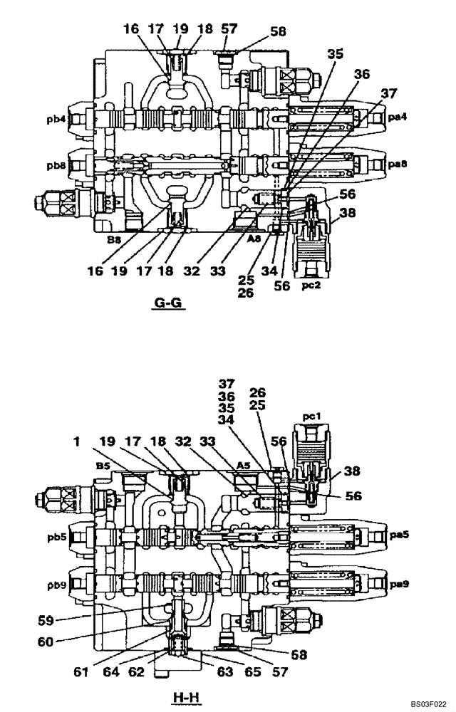
26
32
16
34
35
33
37
32
62
19
59
36
58
56
36
34
65
33
57
17
18
56
26
60
16
56
56
18
38
38
19
57
64
17
37
61
25
63
17
58
25
19
1
35
18
FIT
1:1
100%

Артикул

Название

Примечание

Количество

KMJ2633

CONTROL VALVE

Includes Parts On Figure(s) 08-76 - 08-82

1шт.

16

LJ00997

POPPET

3шт.

17

156026A1

SPRING

3шт.

18

155222A1

O-RING

3шт.

19

155464A1

PLUG

3шт.

163368A1

PLUG

Incl. 25, 26

2шт.

25

NSS

NOT SOLD SEPARAT

Plug

1шт.

26

154455A1

O-RING

1шт.

32

LJ01000

POPPET

2шт.

33

LJ01001

SPRING

2шт.

34

LH00327

SPACER

Incl. 35 - 37

2шт.

35

154498A1

O-RING

1шт.

36

153979A1

BACK-UP RING

1шт.

37

154471A1

O-RING

1шт.

38

LJ01002

VALVE

See Figure 08-82

2шт.

56

154447A1

O-RING

4шт.

57

163369A1

PLUG

Incl. 58

2шт.

58

154475A1

O-RING

1шт.

59

LH00328

SLEEVE

1шт.

60

LJ01003

POPPET

1шт.

61

LG00446

COMPRESSION SPRING

1шт.

62

LJ01004

POPPET

1шт.

63

LG00447

COMPRESSION SPRING

1шт.

64

154517A1

O-RING

1шт.

65

LH00329

FLANGE

1шт.

Выбрано товаров: 25