Запчасти Case CX135SR (08-089) - KMJ2956 VALVE ASSY, CONTROL - MODELS WITH DOZER BLADE (May 25 2006 3:10PM) (08) - HYDRAULICS

Схема запчастей Case CX135SR - (08-089) - KMJ2956 VALVE ASSY, CONTROL - MODELS WITH DOZER BLADE (May 25 2006 3:10PM) (08) - HYDRAULICS
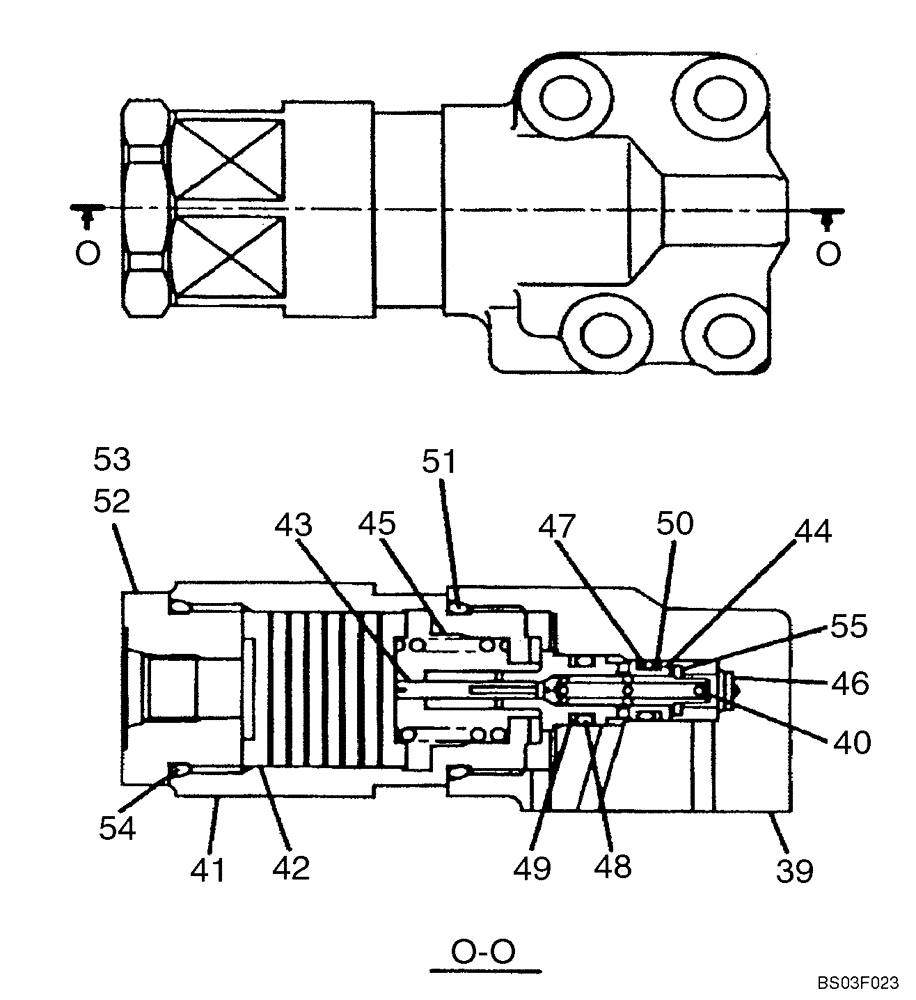
44
40
48
51
54
43
46
52
41
47
49
42
39
53
50
45
55
FIT
1:1
100%

Артикул

Название

Примечание

Количество

KMJ10720

CONTROL VALVE

Includes Parts on Figure Includes Parts On Figure(s) 08-089A - 08-089G

1шт.

LJ01002

VALVE

Incl. 39 - 55

2шт.

39

LR01036

BODY

1шт.

40

LJ01097

POPPET

1шт.

41

LK00323

PLUG

1шт.

42

LJ01096

PISTON

1шт.

43

LJ01098

SPOOL

1шт.

44

LH00367

SLEEVE

1шт.

45

LG00366

SPRING

1шт.

46

LG00367

SPRING

1шт.

47

154458A1

O-RING

1шт.

48

155087A1

O-RING

1шт.

49

154420A1

RING

1шт.

50

153949A1

BACK-UP RING

1шт.

51

155225A1

O-RING

1шт.

52

LK00325

PLUG

Incl. 53, 54

1шт.

53

LK00324

PLUG

1шт.

54

155225A1

O-RING

1шт.

55

LR00632

SPRING SEAT

1шт.

Выбрано товаров: 19