Запчасти Case CX135SR (08-092) - VALVE, SOLENOID (08) - HYDRAULICS

Схема запчастей Case CX135SR - (08-092) - VALVE, SOLENOID (08) - HYDRAULICS
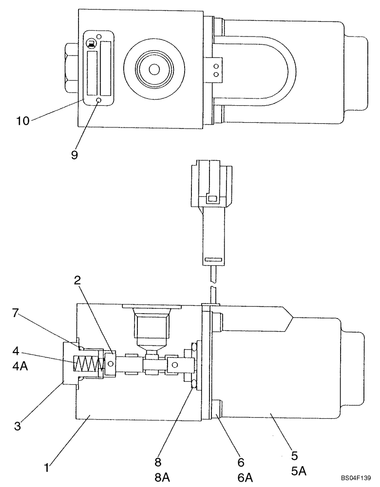
6
9
6a
8a
2
10
3
1
5a
4
5
4a
8
7
FIT
1:1
100%

Артикул

Название

Примечание

Количество

162538A1

VALVE

Incl. 1 - 10; There Are Two Styles of 162538A1. See Note Below.

1шт.

1

NSS

NOT SOLD SEPARAT

Body

1шт.

2

NSS

NOT SOLD SEPARAT

Spool

1шт.

3

155456A1

PLUG

1шт.

4

156048A1

SPRING

1шт.

4a

LSC0278

COMPRESSION SPRING

1шт.

5

162724A1

SOLENOID

1шт.

5a

CDP0873

SOLENOID VALVE

1шт.

6

862-4010

HEX SOC SCREW,M4 x 10mm, Cl 12.9

4шт.

6a

160298A1

BOLT,Hex Skt

4шт.

7

154463A1

O-RING

1шт.

8

154475A1

O-RING

1шт.

8a

BNA0066

O-RING

1шт.

9

NSS

NOT SOLD SEPARAT

Rivet

2шт.

10

NSS

NOT SOLD SEPARAT

Plate

1шт.

Выбрано товаров: 15