Запчасти Case CX135SR (08-100) - VALVE ASSY, REMOTE CONTROL (08) - HYDRAULICS

Схема запчастей Case CX135SR - (08-100) - VALVE ASSY, REMOTE CONTROL (08) - HYDRAULICS
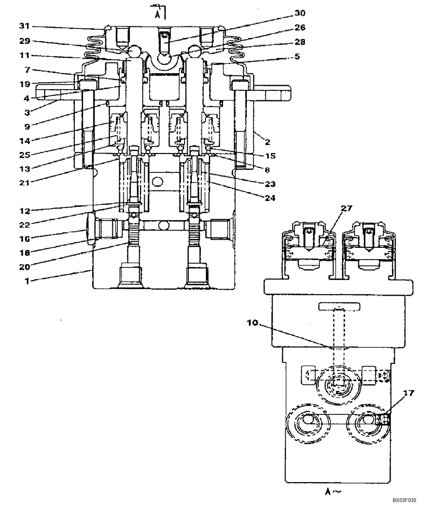
7
31
13
19
21
1
18
4
8
14
23
12
25
3
2
24
10
11
20
5
27
26
17
28
16
22
30
9
15
29
FIT
1:1
100%

Артикул

Название

Примечание

Количество

KHJ1969

CONTROL BLOCK

Remote control, Incl. 1 - 31

1шт.

1

NSS

NOT SOLD SEPARAT

Housing

1шт.

2

NSS

NOT SOLD SEPARAT

Housing

1шт.

3

NSS

NOT SOLD SEPARAT

Cover

2шт.

4

LK00428

PLUG

4шт.

5

LE01055

PAN

4шт.

6

LZ00622

SEAL KIT

1шт.

7

LE00976

OIL SEAL

4шт.

8

LBQ6020

O-RING

4шт.

9

166804A1

O-RING

4шт.

10

154455A1

O-RING

2шт.

11

NSS

NOT SOLD SEPARAT

Rod, Push

4шт.

12

LH00308

SHIM KIT

4шт.

13

LR01023

SPRING SEAT

4шт.

14

NSS

NOT SOLD SEPARAT

Piston

4шт.

15

165200A1

BALL

12шт.

16

LK00015

PLUG

3шт.

17

NSS

NOT SOLD SEPARAT

Plug

2шт.

18

154467A1

O-RING,10.8mm ID x 2.4mm Width

3шт.

19

862-6050

HEX SOC SCREW,M6 x 50mm, Cl 12.9

4шт.

20

NSS

NOT SOLD SEPARAT

Spool

4шт.

21

LR01024

SPRING SEAT

4шт.

22

LA00807

WASHER

4шт.

23

LG00479

COMPRESSION SPRING

4шт.

24

LG00480

COMPRESSION SPRING

4шт.

25

LG00481

COMPRESSION SPRING

4шт.

26

TB00123

SHAFT

2шт.

27

NSS

NOT SOLD SEPARAT

Bushing

4шт.

28

NSS

NOT SOLD SEPARAT

Cam

2шт.

29

NSS

NOT SOLD SEPARAT

Ball, Steel

4шт.

30

LA00808

SET SCREW

2шт.

31

TQ00006

BELLOWS

2шт.

Выбрано товаров: 32